
CHLF,CHLF(T)轻型段式多级离心泵

|
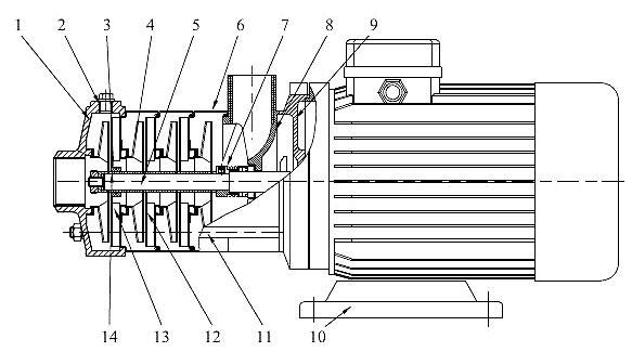
序号/NO. |
名称/Name |
材料/Material |
|
2 |
堵头/Gag |
不锈钢/Stainless steel |
|
3 |
轴承/Bearing |
碳化钨/Tungsten carbide |
|
4 |
叶轮/Impeller |
不锈钢/Stainless steel |
|
5 |
轴/Shaft |
不锈钢/Stainless steel |
|
6 |
出水导叶Water-out guide vane |
不锈钢/Stainless steel |
|
8 |
机械密封/Mechanical seal |
|
|
9 |
电机端盖/Motor end cover |
铝合金/Aluminum alloy |
|
10 |
底座/Base frame |
铸铁/Cast iron |
|
11 |
拉杆/Pull-rod |
不锈钢/Stainless steel |
|
12 |
导叶/Guide vane |
不锈钢/Stainless steel |
|
13 |
支撑导叶/Support guide vane |
不锈钢/Stainless steel |
|
14 |
叶轮隔套/Impeller separating sleeve |
不锈钢/Stainless steel |
|
CHLF |
||
|
1 |
进水体/Water-in body |
不锈钢/Stainless steel |
|
7 |
出水体/Water-out body |
不锈钢/Stainless steel |
|
CHLF(T) |
||
|
1 |
进水体/Water-in body |
铸铁/Cast iron |
|
7 |
出水体/Water-out body |
铸铁/Cast iron |
性能参数




性能曲线

安装尺寸




订货须知












