螺杆泵系列
螺杆泵系列

G型单螺杆泵
G型不锈钢单螺杆泵特点:该泵零件少,结构紧凑,体积小,维修简单,转子和定子是单螺杆泵的易损件,结构简单,便于装拆。是按迥转啮合容积式原理工作的新型泵种。主要工作部件是偏心螺杆(转子)和固定的衬套(定子)。采用无毒无味的食用橡胶,工作温度可达120摄氏度,如果采用高温120摄氏度—350摄氏度时可同本单位联系。由于该二部件的特殊几何开头分别形成单独的密封容腔。介质由轴向均匀推行流动。内部流速代低,容积保持不变。压力稳定

产品概述
G型单螺杆泵在发达国家已广泛使用,由于其优良的性能,近年来在国内的应用范围也在迅速扩大。它的大特点是对介质的适应性强、流量平稳、压力脉动小、自吸能力高,这是其它任何泵种所不能替代的。压力为0.4∽1.2MPa,可满足广大用户对单螺杆泵的不同需求。我单位生产的G型单螺杆泵,质量可靠,实行三包,价格也相对较低,同时确保备件的正常供应。本单位热忱为广大用户服务,接受用户对特殊要求单螺杆泵的设计和制造任务。
型号意义

使用范围
G型单螺杆泵由于该二部件的特殊几何形状,分别形成单独的密封容腔,介质由轴向均匀推行流动,内部流速低,容积保持不变,压力稳定,因而不会产生涡流和搅动。每级泵的输出压力为0.6MPa,扬程60m(清水),自吸高度一般在6m以上。
因定子选用多种弹性材料制成,所以这种泵对高粘度流体的输送和含有硬质悬浮颗粒介质或含有纤维介质的输送,有一般泵种所不能胜任的特性。其流量与转速成正比。
单螺杆泵结构紧凑,体积小,维修简便。对介质的适应性强,流量平稳,压力脉动小,自吸能力高。工作温度可达120℃,如果需输送120℃-350℃高温介质,可定做。广泛用于食品、冶金、造纸、印染、化工、化肥、制药等工业部门。

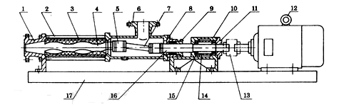
1 出料腔 2 拉杆 3 螺杆胶套 4 螺杆轴 5 万向节总成 6 吸入口体
7 连节轴 8 填料器 9 填料压盖 10 轴承座 11 轴承盖 12 电机
13 连轴器 14 轴套 15 轴承 16 传动主轴 17 底座

性能参数
| 型号 |
流量 (m3/h) |
压力 (Mpa) |
允许 高转数 (r/min) |
电机 功率 (kw) |
必需汽 蚀余量 (m) |
进口法 |
出口法 兰通径 (mm) |
允许颗 粒直径 (mm) |
允许纤 维长度 (mm) |
| G20-1 | 0.8 | 0.6 | 960 | 0.75 | 4 | 25 | 25 | 1.5 | 25 |
| G20-2 | 1.2 | 1.5 | |||||||
| G25-1 | 2 | 0.6 | 960 | 1.5 | 32 | 25 | 2 | 30 | |
| G25-2 | 1.2 | 2.2 | |||||||
| G30-1 | 5 | 0.6 | 960 | 2.2 | 50 | 40 | 2.5 | 35 | |
| G30-2 | 1.2 | 3 | |||||||
| G35-1 | 8 | 0.6 | 960 | 3 | 65 | 50 | 3 | 40 | |
| G35-2 | 1.2 | 4 | |||||||
| G40-1 | 12 | 0.6 | 960 | 4 | 80 | 65 | 3.8 | 45 | |
| G40-2 | 1.2 | 5.5 | |||||||
| G50-1 | 20 | 0.6 | 960 | 5.5 | 4.5 | 100 | 80 | 5 | 50 |
| G50-2 | 1.2 | 7.5 | |||||||
| G60-1 | 30 | 0.6 | 720 | 11 | 5 | 125 | 100 | 6 | 60 |
| G60-2 | 1.2 | 15 | |||||||
| G70-1 | 45 | 0.6 | 720 | 11 | 150 | 125 | 8 | 70 | |
| G70-2 | 1.2 | 18.5 | |||||||
| G85-1 | 65 | 0.6 | 630 | 15 | 150 | 150 | 10 | 80 | |
| G85-2 | 1.2 | 30 | |||||||
| G105-1 | 100 | 0.6 | 500 | 30 | 200 | 200 | 15 | 110 | |
| G105-2 | 1.2 | 55 | |||||||
| G135-1 | 150 | 0.6 | 400 | 45 | 250 | 250 | 20 | 150 | |
| G135-2 | 1.2 | 90 |
单级,由齿轮变速、电磁调速电机加齿轮变速或无级变速电机加齿轮变速时的性能参
| 型号 | 压力0.3Mpa | 压力0.6Mpa | 可调转数 | ||||||
|
转数 (r/min) |
流量 (m3/h) |
电动机 功率 (kw) |
转数 (r/min) |
流量 (m3/h) |
电动机 功率 (kw) |
转数 (r/min) |
流量 (m3/h) |
电动机 功率 (kw) |
|
| G20-1 | 960 | 0.96 | 0.75-6级 | 960 | 0.8 | 0.75-6级 | 125~1250 | 0.1~1.5 | 1.1 |
| 720 | 0.8 | 0.55-8级 | 720 | 0.5 | 0.75-8级 | ||||
| 510 | 0.4 | 0.55-4级/齿轮箱 | 510 | 0.3 | 0.75-4级/齿轮箱 | ||||
| G25-1 | 960 | 2.4 | 0.75-6级 | 960 | 2 | 1.5-6级 | 125~1250 | 0.1~3 | 1.5 |
| 720 | 1.5 | 0.55-8级 | 720 | 1.27 | 1.1-8级 | ||||
| 510 | 1.08 | 0.55-4级/齿轮箱 | 510 | 0.9 | 1.1-4级/齿轮箱 | ||||
| G30-1 | 960 | 3.6 | 1.5-6级 | 960 | 3 | 2.2-6级 | 125~1250 | 0.2~4 | 2.2 |
| 720 | 2.28 | 1.1-8级 | 720 | 1.9 | 1.5-8级 | ||||
| 510 | 1.63 | 1.1-4级/齿轮箱 | 510 | 1.35 | 1.5-4级/齿轮箱 | ||||
| G35-1 | 720 | 4.8 | 2.2-8级 | 720 | 4.04 | 3-8级 | 125~890 | 0.3~5 | 3 |
| 510 | 3.36 | 1.5-4级/齿轮箱 | 510 | 2.8 | 2.2-4级/齿轮箱 | ||||
| 380 | 1.92 | 1.1-4级/齿轮箱 | 380 | 1.60 | 1.5-4级/齿轮箱 | ||||
| G40-1 | 510 | 6.8 | 2.2-4级/齿轮箱 | 510 | 5.6 | 3-4级/齿轮箱 | 125~890 | 0.3~10 | 4 |
| 380 | 5.1 | 1.5-4级/齿轮箱 | 380 | 4 | 2.2-4级/齿轮箱 | ||||
| 252 | 2.65 | 1.1-6级/齿轮箱 | 252 | 2.2 | 1.5-6级/齿轮箱 | ||||
| G50-1 | 510 | 13.8 | 4-4级/齿轮箱 | 510 | 11.5 | 5.5-4级/齿轮箱 | 80~750 | 1~18 | 5.5 |
| 380 | 10.2 | 4-4级/齿轮箱 | 380 | 7.5 | 5.5-4级/齿轮箱 | ||||
| 252 | 5.6 | 3-6级/齿轮箱 | 252 | 4.4 | 5.5-6级/齿轮箱 | ||||
| G60-1 | 510 | 20.8 | 7.5-4级/齿轮箱 | 510 | 16 | 11-4级/齿轮箱 | 63~630 | 1~20 | 11 |
| 380 | 15.6 | 7.5-4级/齿轮箱 | 380 | 12 | 11-4级/齿轮箱 | ||||
| 252 | 7.8 | 5.5-6级/齿轮箱 | 252 | 6 | 7.5-6级/齿轮箱 | ||||
| G70-1 | 510 | 26 | 11-4级/齿轮箱 | 510 | 20 | 11-4级/齿轮箱 | 56~560 | 1~22 | 11 |
| 380 | 17 | 7.5-4级/齿轮箱 | 380 | 13 | 11-4级/齿轮箱 | ||||
| 252 | 9.1 | 7.5-6级/齿轮箱 | 252 | 7 | 7.5-6级/齿轮箱 | ||||
| G85-1 | 380 | 32 | 11-4级/齿轮箱 | 380 | 25 | 15-4级/齿轮箱 | 37~370 | 2~24 | 15 |
| 252 | 21 | 7.5-6级/齿轮箱 | 252 | 16 | 11-6级/齿轮箱 | ||||
| 189 | 11 | 5.5-8级/齿轮箱 | 189 | 8 | 11-8级/齿轮箱 | ||||
| G105-1 | 380 | 80 | 15-4级/齿轮箱 | 380 | 65 | 22-4级/齿轮箱 | 29~290 | 3~50 | 22 |
| 252 | 44 | 15-6级/齿轮箱 | 252 | 34 | 22-6级/齿轮箱 | ||||
| 189 | 29 | 11-8级/齿轮箱 | 189 | 22 | 15-8级/齿轮箱 | ||||
| G135-1 | 380 | 132 | 37-4级/齿轮箱 | 380 | 120 | 45-4级/齿轮箱 | 18~180 | 3~56 | 45 |
| 252 | 95 | 30-6级/齿轮箱 | 252 | 80 | 37-6级/齿轮箱 | ||||
| 189 | 65 | 18.5-6级/齿轮箱 | 189 | 53 | 30-8级/齿轮箱 | ||||
双级,由齿轮变速、电磁调速电机加齿轮变速或无级变速电机加齿轮变速时的性能参数
| 型号 | 压力0.8Mpa | 压力1.2Mpa | 可调转数 | ||||||
|
转数 (r/min) |
流量 (m3/h) |
电动机 功率 (kw) |
转数 (r/min) |
流量 (m3/h) |
电动机 功率 (kw) |
转数 (r/min) |
流量 (m3/h) |
电动机 功率 (kw) |
|
| G20-2 | 960 | 0.96 | 1.5-6级 | 960 | 0.8 | 1.5-6级 | 125~1250 | 0.1~1.5 | 1.5 |
| 720 | 0.8 | 1.1-8级 | 720 | 0.5 | 1.5-8级 | ||||
| 510 | 0.4 | 1.1-4级/齿轮箱 | 510 | 0.3 | 1.1-4级/齿轮箱 | ||||
| G25-2 | 960 | 2.4 | 1.5-6级 | 960 | 2 | 2.2-6级 | 125~1250 | 0.1~3 | 2.2 |
| 720 | 1.5 | 1.1-8级 | 720 | 1.27 | 1.5-8级 | ||||
| 510 | 1.08 | 1.1-4级/齿轮箱 | 510 | 0.9 | 1.5-4级/齿轮箱 | ||||
| G30-2 | 960 | 3.6 | 3-6级 | 960 | 3 | 3-6级 | 125~1250 | 0.2~4 | 3 |
| 720 | 2.28 | 1.5-8级 | 720 | 1.9 | 2.2-8级 | ||||
| 510 | 1.63 | 1.5-4级/齿轮箱 | 510 | 1.35 | 2.2-4级/齿轮箱 | ||||
| G35-2 | 720 | 4.8 | 3-8级 | 720 | 4.04 | 4-8级 | 125~890 | 0.3~5 | 4 |
| 510 | 3.36 | 2.2-4级/齿轮箱 | 510 | 2.8 | 3-4级/齿轮箱 | ||||
| 380 | 1.92 | 1.5-4级/齿轮箱 | 380 | 1.60 | 2.2-4级/齿轮箱 | ||||
| G40-2 | 510 | 6.8 | 4-4级/齿轮箱 | 510 | 5.6 | 5.5-4级/齿轮箱 | 125~890 | 0.3~10 | 5.5 |
| 380 | 5.1 | 3-4级/齿轮箱 | 380 | 4 | 4-4级/齿轮箱 | ||||
| 252 | 2.65 | 2.2-6级/齿轮箱 | 252 | 2.2 | 3-6级/齿轮箱 | ||||
| G50-2 | 510 | 13.8 | 5.5-4级/齿轮箱 | 510 | 11.5 | 7.5-4级/齿轮箱 | 80~750 | 1~18 | 7.5 |
| 380 | 10.2 | 4-4级/齿轮箱 | 380 | 7.5 | 5.5-4级/齿轮箱 | ||||
| 252 | 5.6 | 3-6级/齿轮箱 | 252 | 4.4 | 5.5-6级/齿轮箱 | ||||
| G60-2 | 510 | 20.8 | 15-4级/齿轮箱 | 510 | 16 | 15-4级/齿轮箱 | 63~630 | 1~20 | 15 |
| 380 | 15.6 | 11-4级/齿轮箱 | 380 | 12 | 15-4级/齿轮箱 | ||||
| 252 | 7.8 | 7.5-6级/齿轮箱 | 252 | 6 | 11-6级/齿轮箱 | ||||
| G70-2 | 510 | 26 | 15-4级/齿轮箱 | 510 | 20 | 18.5-4级/齿轮箱 | 56~560 | 1~22 | 18.5 |
| 380 | 17 | 11-4级/齿轮箱 | 380 | 13 | 15-4级/齿轮箱 | ||||
| 252 | 9.1 | 11-6级/齿轮箱 | 252 | 7 | 11-6级/齿轮箱 | ||||
| G85-2 | 380 | 32 | 18.5-4级/齿轮箱 | 380 | 25 | 22-4级/齿轮箱 | 37~370 | 2~24 | 22 |
| 252 | 21 | 15-6级/齿轮箱 | 252 | 16 | 18.5-6级/齿轮箱 | ||||
| 189 | 11 | 15-8级/齿轮箱 | 189 | 8 | 15-8级/齿轮箱 | ||||
| G105-2 | 380 | 80 | 30-4级/齿轮箱 | 380 | 65 | 37-4级/齿轮箱 | 29~290 | 3~50 | 37 |
| 252 | 44 | 30-6级/齿轮箱 | 252 | 34 | 30-6级/齿轮箱 | ||||
| 189 | 29 | 22-8级/齿轮箱 | 189 | 22 | 22-8级/齿轮箱 | ||||
| G135-2 | 380 | 132 | 55-4级/齿轮箱 | 380 | 120 | 75-4级/齿轮箱 | 18~180 | 3~56 | 75 |
| 252 | 95 | 55-6级/齿轮箱 | 252 | 80 | 75-6级/齿轮箱 | ||||
| 189 | 65 | 37-8级/齿轮箱 | 189 | 53 | 45-8级/齿轮箱 | ||||
单、双级水煤浆工作泵的性能参数
| 泵 型 |
流量 (m3/h) |
工作压力(Mpa) | 转数(r/min) | 齿轮减速配套调速电机(kw) |
| G30-2 | ~1 | 1.2 | 30~300 | YCT160/4A-2.2 |
| G35-2 | ~2 | 1.2 | 30~300 | YCT160/4A-2.2 |
| G40-2 | ~3 | 1.2 | 30~280 | YCT160/4A-3 |
| G50-1 | ~4.5 | 0.6 | 28~280 | YCT180/4A-4 |
| G50-2 | ~4.5 | 1.2 | 28~280 | YCT200/4A-5.5 |
| G60-1 | ~6.5 | 0.6 | 25~250 | YCT200/4A-5.5 |
| G60-2 | ~6.5 | 1.2 | 25~250 | YCT200/4B-7.5 |
| G70-1 | ~8 | 0.6 | 25~250 | YCT200/4B-7.5 |
| G85-1 | ~12.5 | 0.6 | 18~180 | YCT225/4A-11 |
| G105-1 | ~20 | 0.6 | 14~140 | YCT225/4B-15 |
| G135-1 | ~35 | 0.6 | 10~100 | YCT250/4B-22 |
说明:
1、以上性能参数是常温清水试验时的试验数据;
2、对于不同的介质、不同的转速,性能参数都将变化,其流量值与浓度、粘度成反比,与转速成正比;
3、用户必须根据使用要求、输送介质的状况、选型原则选择泵的类型,或者和本公司技术部门协商来决定泵的类型。
4、对于水煤浆泵传动形式为齿轮调速配套电磁调速电机或机械无级变速电机,流量随转速变化无级可调。
与其他泵类的优势比较
1、与离心泵相比螺杆泵无需安装阀门,流量是稳定的线性流动;
2、与柱塞泵相比螺杆泵具有自吸能力强、吸入高度强;
3、与隔膜泵相比螺杆泵可输送各种混合杂质含有气体及固体颗粒或纤维的介质,也可输送各种腐蚀性物质;
4、与齿轮油泵相比,螺杆泵可输送高粘度的物质;
5、与柱塞泵,隔膜泵及齿轮泵不同的是,螺杆泵可用于药剂填充和计量。
订货须知
一、①产品名称与型号②口径③扬程(m)④电机功率(KW)⑥转速(r/min)⑦电压〔V〕⑧吸程(m)⑨是否带附件。以便我们的为您正确选型。
二、若已经由设计单位选定我公司的产品型号,请按产品名称与型号直接向我公司销售部订购。
三、当使用的场合非常重要或环境比较复杂时,请您尽量提供设计图纸和详细参数,由我们的技术专家为您审核把关。
相关文章
产品评论 查看所有评论

FS型卧式玻璃钢离心泵BL系列单级卧式离心清水泵DSW不锈钢卧式单级离心泵ZX系列卧式自吸离心泵PW、PWF型悬臂式离心污水泵GW型管道式无堵塞排污泵CQB-F型氟塑料磁力驱动泵IGF型衬氟管道泵SPG系列管道屏蔽泵BA型卧式单级离心泵IS、IR单级单吸离心泵ISGB便拆立式管道离心泵CHLF,CHLF(T)轻型段式多级离心泵SOW型卧式蜗壳式双吸离心泵TD管道循环泵W型漩涡泵KQLB便拆式离心泵KQW卧式离心泵KQW-户外型离心泵FSB型耐腐蚀氟塑料离心泵ZCQ型自吸式磁力泵ISG型系列立式管道离心泵|立式离心泵IHF系列防爆氟塑料衬里离心泵SG型管道增压泵CDLF立式不锈钢多级离心泵PF型强耐腐蚀离心泵LHP立式屏蔽泵ISW型变频卧式管道离心泵|卧式单级单吸离心泵ZS型不锈钢卧式单级离心泵IRG热水管道循环泵|高温热水泵
XWJ型无堵塞纸浆泵WQK/QG旋流式带切割装置排污泵PW污水泵PWL立式排污泵QXB型潜水离心式曝气机QWH型潜水回流泵LWB防爆型直立式排污泵PW/PE污水提升器PW/S-N系列内置式反冲洗不锈钢污水提升器WQP、QWP型不锈钢潜水排污泵AS、AV系列撕裂式潜水排污泵WQ潜水污水泵QJB潜水搅拌机ZW型防爆自吸式排污泵|不锈钢自吸式排污泵GW型管道排污泵|防爆管道式无堵塞排污泵LW立式无阻塞排污泵WQ型潜水无堵塞排污泵YW防爆液下排污泵JYWQ系列自动搅匀排污泵NL型泥浆泵
LQFZ型直联式耐腐蚀不锈钢自吸泵ZXB型氟塑料自吸泵ZCQ型自吸式磁力泵ZCQF型氟塑料自吸磁力泵ZBF型自吸式塑料磁力泵ZSLP无菌型自吸式卫生泵KYB系列自吸滑板泵ZSW强力自吸泵QZZSC强自吸双吸柴油机自吸泵头ZX系列自吸泵ZW型不锈钢自吸排污泵CYZ-A型防爆自吸式离心泵FZB氟塑料自吸泵|耐酸碱自吸泵JMZ不锈钢自吸泵|酒泵ZWL型直联自吸式无堵塞排污泵HBFX不锈钢耐腐蚀自吸泵WFB型无密封自控自吸泵FPZ型耐腐蚀自吸泵ZS型玻璃钢自吸泵ZMD防爆型氟塑料自吸磁力泵
CQB-F型氟塑料磁力驱动泵CQG型耐高温磁力驱动泵CQGD型管道式磁力泵CW型磁力驱动旋涡泵ZCQ型自吸式磁力泵ZCQF型氟塑料自吸磁力泵MT-HTP型高温磁力泵IMD衬氟塑料F46磁力泵CQGB型保温磁力泵CQSG型管道磁力泵CQ型防爆不锈钢磁力泵CQB型防爆磁力泵CQB-G型高温保温磁力泵MP型磁力驱动循环泵ZBF自吸式塑料磁力泵
IHG型立式化工管道泵FB、AFB耐腐蚀离心泵CQB-F型氟塑料磁力驱动泵FSB防爆氟塑料耐腐蚀泵ZA石油化工离心泵CWB磁力旋涡泵ZS型不锈钢卧式单级离心泵CHLF,CHLF(T)轻型段式多级离心泵IGF型衬氟管道泵CQB型磁力驱动离心泵CQG型耐高温磁力驱动泵CQGD型管道式磁力泵ZCQF型氟塑料自吸磁力泵ZBF型自吸式塑料磁力泵FZB系列氟塑料自吸泵DSW不锈钢卧式单级离心泵FP型增强聚丙烯离心泵FPG系列耐腐蚀管道离心泵ZMD型自吸式酸碱泵FPZ型耐腐蚀自吸泵IR型保温泵FYS系列氟塑料合金液下泵S型玻璃钢泵SL型酚醛玻璃钢管道泵YQB—液化气导气泵IJ耐腐蚀碱泵 化工流程泵HZW化工轴流泵WSY、FSY型防爆玻璃钢液下泵SY型耐腐蚀液下泵FY系列防爆液下泵
QDL轻型多级离心泵D型防爆卧式多级泵CDLF轻型立式多级离心泵|不锈钢立式多级泵LG系列 高层建筑给水泵CHL系列 桶式不锈钢多级离心泵GDL型立式多级管道泵D型防爆卧式多级泵QDLF立式不锈钢多级泵CDLF轻型立式多级离心泵DL型立式多级离心泵CDLK/CDLKF浸入式多级离心泵LG系列高层建筑给水泵










