磁力泵系列
磁力泵系列

CQB型防爆磁力泵
CQB系列磁力泵广泛应用于石油、化工、冶金、制药、电镀、环保等行业,可输送100℃以下易燃、易爆、剧毒、贵重液体。采用磁力传动原理,无泄漏输送腐蚀性介质。

概述
CQB型磁力驱动泵是磁力泵全国联合设计组开发的新型完全无泄漏耐腐蚀泵,是cq型泵的补充和改进。 主要特点 该泵过流部份采用全不锈钢材料,对有机酸,有机化合物,碱,中性溶液和多种气体都有良好的耐蚀性,双螺旋槽碳 石墨轴承和硬质合金轴套的磨合,具有较强的耐磨性,保证了产品的寿命,是无泄漏输送腐蚀性介质的理想泵。 无泄漏输送腐蚀性介质的理想泵型,全国磁力泵联合设计的优化产品,可以直接取代ih型化工流程泵。适用范围
CQB系列磁力泵广泛应用于石油、化工、冶金、制药、电镀、环保等行业,可输送100℃以下易燃、易爆、剧毒、贵重液体。 采用磁力传动原理,无泄漏输送腐蚀性介质。 流量:3.2-100m3/h 扬程:20-80m 功率:0.75-75KW型号意义

性能参数
| 型号 | 流量 (m3/h) | 扬程 (m) | 转速 (r/min) | 功率 (kw) |
| CQB32-20-125 | 3.2 | 20 | 1.1 | |
| CQB32-20-160 | 32 | 1.5 | ||
| CQB40-25-105 | 6.3 | 12.5 | 1.1 | |
| CQB40-25-125 | 20 | 2.2 | ||
| CQB40-25-160 | 32 | 3 | ||
| CQB40-25-200 | 50 | 5.5 | ||
| CQB50-40-85 | 12.5 | 8 | 1.1 | |
| CQB50-32-105 | 12.5 | 1.5 | ||
| CQB50-32-125 | 20 | 3 | ||
| CQB50-32-160 | 32 | 4 | ||
| CQB50-32-200 | 50 | 7.5 | ||
| CQB50-32-250 | 80 | 18.5 | ||
| CQB65-50-125 | 25 | 20 | 2900 | 4 |
| CQB65-50-160 | 32 | 7.5 | ||
| CQB65-40-200 | 50 | 15 | ||
| CQB65-40-250 | 80 | 22 | ||
| CQB80-65-125 | 50 | 20 | 7.5 | |
| CQB80-65-160 | 32 | 15 | ||
| CQB80-50-200 | 50 | 22 | ||
| CQB80-50-250 | 80 | 37 | ||
| CQB100-80-125 | 100 | 20 | 15 | |
| CQB100-80-160 | 32 | 22 | ||
| CQB100-65-200 | 50 | 37 | ||
| CQB100-65-250 | 80 | 55 | ||
| CQB150-150-200 | 200 | 50 | 55 | |
| CQB200-200-400 | 400 | 32 | 1450 | 75 |
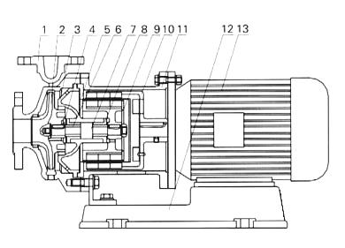
结构图
| 1 | 泵体 | 2 | 叶轮 | 3 | 轴承体 | 4 | 止推环 | 5 | 隔离套 | 6 | 轴套 | 7 | 泵轴 |
| 8 | 轴承 | 9 | 内磁钢总成 | 10 | 外磁钢总成 | 11 | 联接架 | 12 | 底座 | 13 | 电机 |
安装尺寸

| 型号 | A | AD | B | L | L1 | H1 | H2 | a | A1 | A2 | A3 | H | H3 | H4 | L2 | L3 | L4 | L5 | L6 | h | n-d |
| CQB32-20-125 | 125 | 150 | 100 | 458 | 133 | 120 | 90 | 65 | |||||||||||||
| CQB32-20-160 | 140 | 155 | 100 | 483 | 143 | 160 | 90 | 65 | |||||||||||||
| CQB40-25-105 | 125 | 150 | 100 | 458 | 133 | 120 | 90 | 65 | |||||||||||||
| CQB40-25-125 | 140 | 155 | 125 | 508 | 143 | 160 | 112 | 65 | |||||||||||||
| CQB40-25-160 | 160 | 180 | 140 | 706 | 230 | 160 | 112 | 80 | 300 | 330 | 360 | 197 | 357 | 342 | 263 | 40 | 120 | 320 | 560 | 75 | 4-ф17 |
| CQB40-25-200 | 261 | 210 | 140 | 821 | 275 | 160 | 132 | 80 | 350 | 380 | 410 | 232 | 392 | 415 | 329 | 87 | 160 | 325 | 645 | 50 | 4-ф22 |
| CQB50-40-85 | 125 | 150 | 100 | 458 | 133 | 120 | 90 | 80 | |||||||||||||
| CQB50-32-105 | 140 | 155 | 125 | 508 | 143 | 160 | 112 | 80 | |||||||||||||
| CQB50-32-125 | 160 | 180 | 140 | 706 | 234 | 160 | 112 | 80 | 300 | 330 | 360 | 197 | 337 | 342 | 263 | 40 | 120 | 320 | 560 | 75 | 4-ф17 |
| CQB50-32-160 | 190 | 190 | 140 | 800 | 290 | 160 | 112 | 80 | 300 | 330 | 360 | 217 | 377 | 370 | 344 | 43 | 120 | 415 | 655 | 100 | 4-ф17 |
| CQB50-32-200 | 216 | 210 | 140 | 817 | 282 | 180 | 132 | 80 | 350 | 380 | 410 | 245 | 425 | 428 | 325 | 43 | 120 | 465 | 705 | 80 | 4-ф22 |
| CQB50-32-250 | 254 | 255 | 210 | 987 | 337 | 225 | 160 | 100 | 380 | 410 | 440 | 300 | 525 | 525 | 397 | 55 | 150 | 550 | 850 | 80 | 4-ф22 |
| CQB65-50-125 | 216 | 210 | 140 | 836 | 290 | 160 | 132 | 80 | 350 | 380 | 410 | 197 | 337 | 350 | 344 | 40 | 120 | 410 | 650 | 75 | 4-ф17 |
| CQB65-50-160 | 216 | 210 | 140 | 836 | 290 | 160 | 132 | 80 | 350 | 380 | 410 | 217 | 377 | 400 | 344 | 40 | 120 | 410 | 650 | 75 | 4-ф17 |
| CQB65-40-200 | 254 | 255 | 210 | 962 | 324 | 180 | 160 | 100 | 380 | 410 | 440 | 260 | 440 | 485 | 372 | 54 | 150 | 565 | 865 | 110 | 4-ф22 |
| CQB65-40-250 | 279 | 285 | 241 | 1032 | 324 | 225 | 180 | 100 | 380 | 410 | 440 | 300 | 525 | 550 | 385 | 54 | 150 | 565 | 865 | 110 | 4-ф22 |
| CQB80-65-125 | 216 | 210 | 140 | 817 | 282 | 160 | 132 | 81 | 350 | 380 | 410 | 217 | 377 | 457 | 325 | 43 | 120 | 465 | 705 | 80 | 4-ф17 |
| CQB80-65-160 | 254 | 255 | 210 | 1013 | 350 | 180 | 160 | 100 | 380 | 410 | 440 | 260 | 440 | 485 | 423 | 98 | 210 | 395 | 815 | 90 | 4-ф22 |
| CQB80-50-200 | 254 | 255 | 254 | 1086 | 380 | 200 | 160 | 100 | 380 | 410 | 440 | 260 | 460 | 485 | 451 | 50 | 210 | 450 | 870 | 90 | 4-ф22 |
| CQB80-50-250 | 318 | 310 | 305 | 1251 | 390 | 225 | 200 | 125 | 470 | 500 | 530 | 320 | 545 | 595 | 476 | 127 | 210 | 490 | 910 | 110 | 4-ф22 |
| CQB100-80-125 | 254 | 255 | 210 | 958 | 308 | 180 | 160 | 100 | 380 | 410 | 440 | 260 | 440 | 485 | 368 | 127 | 210 | 400 | 820 | 80 | 4-ф17 |
| CQB100-80-160 | 254 | 255 | 254 | 1003 | 308 | 200 | 160 | 100 | 380 | 410 | 440 | 280 | 480 | 505 | 368 | 127 | 210 | 400 | 820 | 80 | 4-ф22 |
| CQB100-65-200 | 318 | 310 | 305 | 1262 | 412 | 225 | 180 | 100 | 470 | 500 | 530 | 320 | 545 | 595 | 512 | 141 | 250 | 560 | 1060 | 130 | 4-ф28 |
| CQB100-65-250 | 318 | 310 | 305 | 1290 | 412 | 250 | 200 | 125 | 470 | 500 | 530 | 340 | 590 | 645 | 512 | 141 | 250 | 560 | 1060 | 130 | 4-ф28 |
安装和使用
1、CQB型磁力驱动泵应水平安装,不宜竖立,塑料泵体不得承受管路重量,对于特殊要求垂直安装的场合,电机务必朝上。2、当抽吸液面高于泵轴心线时,起动前打开吸入管道阀门即可,若抽吸液面低于泵轴心线时,管道需配备底阀。
3、CQB型磁力驱动泵使用前应进行检查,电机风叶转动要灵活,无卡住无异常声响,各紧固件要紧固。
4、检查电机旋转方向是否与磁力泵转向标记一致。
5、电机启动后,缓慢打开排出阀,待泵进入正常工作状态后,再将排出阀调到所需开度。
6、CQB型磁力驱动泵停止工作前,应先关闭排出阀门,然后关闭吸入管阀门。
使用注意事项
1、因磁力泵轴承的冷却和润滑是靠被输送的介质,所以绝对禁止空动转,同时避免在工作中途停电后再启动 时所造成时空载运转。2、被输送介质中,若含有固体颗粒,泵入口要加过滤网:如含有铁磁质微粒,需加磁性过滤器。
3、CQB型磁力驱动泵在使用中环境温度应小于40℃,电机温升不得超过75℃。
4、被输送的介质及其温度应在泵材允许范围内(详见附表)。工程塑料泵的使用温度<60℃,金属泵的使用 温 度<100℃,输送吸入 压力不大于0.2mpa,大工作压力1.6mpa、密度不大于1600kg/m3,粒度不大于30 × 10-6m2/s的不含硬颗粒和纤维的液体。
5、对于输送液为易沉淀结晶的介质,使用后应及时清洗,排净泵内积液。
6、磁力驱动泵运行100小时后,应拆检轴承和端面动环的磨损情况,并更换不宜再用的易损件。
7、CQB型磁力驱动泵内外磁性联轴器采用高性能永磁材料,可能对下列器件产生潜在危害,请将下列器件与本系列泵 保持距离。如:心脏起博器,信用卡及其它磁卡、计算器、计算机磁盘、手表等。
故障与排除方法
| 故障形式 | 产 生原因 | 排除方法 |
| 泵不出水 |
1.水泵反转 2.进水管道漏气 3.泵腔蓄水不足 4.电压太高,苣动时联轴器打滑 5.吸程太高 6.阀门没有打开 |
1.改变电讥接线 2.社绝漏气 3.增加蓄水量 4.调正电压 5.降低泵安装位置 6.校正或更?阀门 |
| 流量不足 |
1.吸入管径太小或淤塞 2.叶轮流道阻塞 3.扬程过高 4.转速不够 |
1.调换或清洗水管 2.清洗叶轮 3.开大出水阀 4.恢复额定转速 |
| 扬程过低 |
1.流量过大 2.转速太低 |
1.关小出水阀 2.恢复额定转速 |
| 噪音太大 |
1.轴严重磨损 2.轴承严重磨损 3.外磁钢或?磁钢与隔离套接触 4.密封环与叶轮研磨 |
1.更换泵轴 2.更换轴承 3.拆除泵头重新组装 4.更换止推环、密封环 |
| 漏 液 | O型密封圈损坏 | 更换O型密封圈 |
订货须知
一、①产品名称与型号②口径③扬程(m)④电机功率(KW)⑥转速(r/min)⑦电压〔V〕⑧吸程(m)⑨是否带附件。以便我们的为您正确选型。
二、若已经由设计单位选定我公司的产品型号,请按产品名称与型号直接向我公司销售部订购。
三、当使用的场合非常重要或环境比较复杂时,请您尽量提供设计图纸和详细参数,由我们的技术专家为您审核把关。
相关文章
产品评论 查看所有评论

FS型卧式玻璃钢离心泵BL系列单级卧式离心清水泵DSW不锈钢卧式单级离心泵ZX系列卧式自吸离心泵PW、PWF型悬臂式离心污水泵GW型管道式无堵塞排污泵CQB-F型氟塑料磁力驱动泵IGF型衬氟管道泵SPG系列管道屏蔽泵BA型卧式单级离心泵IS、IR单级单吸离心泵ISGB便拆立式管道离心泵CHLF,CHLF(T)轻型段式多级离心泵SOW型卧式蜗壳式双吸离心泵TD管道循环泵W型漩涡泵KQLB便拆式离心泵KQW卧式离心泵KQW-户外型离心泵FSB型耐腐蚀氟塑料离心泵ZCQ型自吸式磁力泵ISG型系列立式管道离心泵|立式离心泵IHF系列防爆氟塑料衬里离心泵SG型管道增压泵CDLF立式不锈钢多级离心泵PF型强耐腐蚀离心泵LHP立式屏蔽泵ISW型变频卧式管道离心泵|卧式单级单吸离心泵ZS型不锈钢卧式单级离心泵IRG热水管道循环泵|高温热水泵
XWJ型无堵塞纸浆泵WQK/QG旋流式带切割装置排污泵PW污水泵PWL立式排污泵QXB型潜水离心式曝气机QWH型潜水回流泵LWB防爆型直立式排污泵PW/PE污水提升器PW/S-N系列内置式反冲洗不锈钢污水提升器WQP、QWP型不锈钢潜水排污泵AS、AV系列撕裂式潜水排污泵WQ潜水污水泵QJB潜水搅拌机ZW型防爆自吸式排污泵|不锈钢自吸式排污泵GW型管道排污泵|防爆管道式无堵塞排污泵LW立式无阻塞排污泵WQ型潜水无堵塞排污泵YW防爆液下排污泵JYWQ系列自动搅匀排污泵NL型泥浆泵
LQFZ型直联式耐腐蚀不锈钢自吸泵ZXB型氟塑料自吸泵ZCQ型自吸式磁力泵ZCQF型氟塑料自吸磁力泵ZBF型自吸式塑料磁力泵ZSLP无菌型自吸式卫生泵KYB系列自吸滑板泵ZSW强力自吸泵QZZSC强自吸双吸柴油机自吸泵头ZX系列自吸泵ZW型不锈钢自吸排污泵CYZ-A型防爆自吸式离心泵FZB氟塑料自吸泵|耐酸碱自吸泵JMZ不锈钢自吸泵|酒泵ZWL型直联自吸式无堵塞排污泵HBFX不锈钢耐腐蚀自吸泵WFB型无密封自控自吸泵FPZ型耐腐蚀自吸泵ZS型玻璃钢自吸泵ZMD防爆型氟塑料自吸磁力泵
CQB-F型氟塑料磁力驱动泵CQG型耐高温磁力驱动泵CQGD型管道式磁力泵CW型磁力驱动旋涡泵ZCQ型自吸式磁力泵ZCQF型氟塑料自吸磁力泵MT-HTP型高温磁力泵IMD衬氟塑料F46磁力泵CQGB型保温磁力泵CQSG型管道磁力泵CQ型防爆不锈钢磁力泵CQB型防爆磁力泵CQB-G型高温保温磁力泵MP型磁力驱动循环泵ZBF自吸式塑料磁力泵
IHG型立式化工管道泵FB、AFB耐腐蚀离心泵CQB-F型氟塑料磁力驱动泵FSB防爆氟塑料耐腐蚀泵ZA石油化工离心泵CWB磁力旋涡泵ZS型不锈钢卧式单级离心泵CHLF,CHLF(T)轻型段式多级离心泵IGF型衬氟管道泵CQB型磁力驱动离心泵CQG型耐高温磁力驱动泵CQGD型管道式磁力泵ZCQF型氟塑料自吸磁力泵ZBF型自吸式塑料磁力泵FZB系列氟塑料自吸泵DSW不锈钢卧式单级离心泵FP型增强聚丙烯离心泵FPG系列耐腐蚀管道离心泵ZMD型自吸式酸碱泵FPZ型耐腐蚀自吸泵IR型保温泵FYS系列氟塑料合金液下泵S型玻璃钢泵SL型酚醛玻璃钢管道泵YQB—液化气导气泵IJ耐腐蚀碱泵 化工流程泵HZW化工轴流泵WSY、FSY型防爆玻璃钢液下泵SY型耐腐蚀液下泵FY系列防爆液下泵
QDL轻型多级离心泵D型防爆卧式多级泵CDLF轻型立式多级离心泵|不锈钢立式多级泵LG系列 高层建筑给水泵CHL系列 桶式不锈钢多级离心泵GDL型立式多级管道泵D型防爆卧式多级泵QDLF立式不锈钢多级泵CDLF轻型立式多级离心泵DL型立式多级离心泵CDLK/CDLKF浸入式多级离心泵LG系列高层建筑给水泵










