网站首页收藏夹设为首页
真空泵系列
真空泵系列

ZKJ真空箱机组

ZKJ真空箱机组是通过2X型真空泵、真空箱、电器箱、真空表、电磁放气阀五大类组成真空箱机组。真空泵在形成一定要求的真空或压力时,从而满足工艺过程要在真空状态下进行的要求,ZKJ真空箱机组可广泛适用于工艺品、化工、制药、冶金、电子、科研等行业使用。

 

概述

      ZKJ真空箱机组是通过2X型真空泵、真空箱、电器箱、真空表、电磁放气阀五大类组成真空箱机组。真空泵在形成一定要求的真空或压力时,从而满足工艺过程要在真空状态下进行的要求,ZKJ真空箱机组可广泛适用于工艺品、化工、制药、冶金、电子、科研等行业使用。

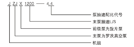
概述型号表示方法

真空机电路图

ZKJ真空箱机组概述技术参数

型号 内腔容积
(m3)
真空度
(Pa)
电压
(V)
规格直径×长度
(mm)
配用真空泵规格
ZKJ-400 0.075     400×600 2X-4A
ZKJ-500 0.137     500×700 2X-8A
ZKJ-600 0.226 6×10-2 380 600×800 2X-8A
ZKJ-700 0.308     700×800 2X-15
ZKJ-800 0.502     800×1000 2X-15
ZKJ-1000 1.02     1000×1300 2X-30

订货须知

一、①产品名称与型号②口径③扬程(m)④电机功率(KW)⑤转速(r/min)⑥电压〔V〕⑦吸程(m)⑧是否带附件。以便我们的为您正确选型。
二、若已经由设计单位选定我公司的产品型号,请按产品名称与型号直接向我公司销售部订购。
三、当使用的场合非常重要或环境比较复杂时,请您尽量提供设计图纸和详细参数,由我们的技术专家为您审核把关。

 

产品评论 查看所有评论
公司名称/个人:
评论内容:
验证码: 验证码
 
产品导购
安全阀,隔膜泵, 减速机,齿轮减速机, 分布式光伏电缆太阳能光伏发电电缆光伏四平方电缆大型光伏电站电缆上海玖开 济南回收药品,青岛收药电话,济南收药,济南药品回收 助力机械手上海木托盘, 上海出口木托盘工业加湿器上海二手木托盘上海出口托盘上海胶合板托盘零浮力电缆辊筒辊筒输送机东莞搭脚手架 ,上海老洋房出租出售 ,上海豪宅出租出售 , 上海老洋房整栋会所办公接待出租,金苑亦园汇贤居出租出售 ,安福路底楼带院子工作室商铺出租 ,裂解炭黑深加工设备,连续式废轮胎裂解设备,连续式废塑料裂解设备, 连续式废轮胎炼油设备,连续式医疗废物热解设备,连续式废轮胎热裂解设备, 连续式油泥炼油设备,连续式医疗垃圾热解设备,连续式废塑料炼油设备,连续式废轮胎炼油设备 ,中山白蚁防治,中山灭虫公司,江门消杀公司, 喀什废品回收,喀什废铁废铜铝回收,喀什电线电缆回收,喀什电力设备回收, ,防静电工作台,皮带线,滚筒线,倍速链,工具柜厂家