
QJ型多级高扬程大流量不锈钢潜水泵

产品概述
QJ型井用潜水泵是从深井中提取地下水的成套机具,广泛应用于农田灌溉、工矿企业的供排水及高原、山区的畜用水。QJR型井用热水潜水泵,采用特殊材质和结构,用于提取地下热水。另外本公司根据用户需要生产海水、矿山等特殊场合用潜水泵。该潜水泵主机由QJ型潜水泵和YQS型潜水泵机组成。潜入水下工作,具有结构紧凑、体积小、重量轻、安装、使用、维护方便,运输安全可靠、节约能源等优点。
使用条件
1、电源:三相交流电,电压380伏,频率50赫兹。
2、水源
(1)水温 a:QJ型≤20℃ b: QJ型≤20℃
(2)水中含沙量(重量比)不得超过0.01%,氯离子不得超过400毫克/升。
(3)PH=6.5∽8.5
技术数据
150QJ(R)10-150
150 适用小井径150毫米:
QJ(R) 型号特征:井用潜水电泵(热水)
10 额定流量:10立方米/小时
150/ 额定扬程:150米
结构特点
QJ型潜水泵由多级离心式叶轮分段串联组成。泵级间由扁拉筋或螺栓连接,每段之间由橡胶(或铜)轴承支撑,泵的顶端没有逆止阀。YQS型潜水电机为密闭充水式三相异步电机,绕组采用耐水连续密封结构,导轴承和推力轴承均为水润滑轴承;电机上部安装有防砂机构,阻止泥沙进入电机内控。
成套供应范围
1、主机:潜水泵和潜水电机。
2、管路:输水管、弯管、橡胶垫、安装夹板等。
3、电缆:电缆和电缆接头材料。
4、起动和保护装置。
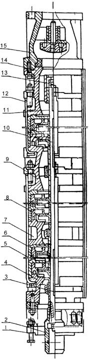
结构图
|
编号 |
零件名称 |
|
|
1 |
进水节 |
|
|
2 |
联轴器 |
|
|
3 |
键 |
|
|
4 |
吸入段 |
|
|
5 |
泵壳 |
|
|
6 |
导叶 |
|
|
7 |
中轴承体 |
|
|
8 |
叶轮 |
|
|
9 |
联接段 |
|
|
10 |
泵轴 |
|
|
11 |
长轴套 |
|
|
12 |
扁拉筋 |
|
|
13 |
轴头螺母 |
|
|
14 |
上轴承体 |
|
|
15 |
逆止阀体 |
|
编号 |
零件名称 |
|
|
1 |
联轴器 |
|
|
2 |
键 |
|
|
3 |
进水节 |
|
|
4 |
导流壳 |
|
|
5 |
泵轴 |
|
|
6 |
叶轮 |
|
|
7 |
锥形套 |
|
|
8 |
逆止阀体 |
潜水泵结构说明
1、QJ型井用潜水泵机组由:水泵、潜水电机(包括电缆)、输水管和控制开关四大部分组成。
2、潜水泵每级导流壳中装有一个橡胶轴承;叶轮用锥形套固定在泵轴上;导流壳采用螺纹或螺栓联成一体。
3、高扬程潜水泵上部装有止回阀,避免停机水垂造成机组破坏。
4、潜水电机轴上部装有迷宫式防砂器和两个反向装配的骨架油封,防止流砂进入电机。
5、潜水电机采用水润滑轴承,下部装有橡胶调压膜、调压弹簧,组成调压室,调节由于温度引起的压力变化;电机绕组采用聚乙稀绝缘,尼龙护套耐用消费品水电磁线,电缆联接方式按QJ型电缆接头工艺,把接头绝缘脱去刮净漆层,分别接好,焊接牢固,用生橡胶绕一层。再用防水粘胶带缠2~3层,外面包上2~3层防水胶布或用水胶粘结包一层橡胶带(自行车里带)以防渗水。
6、电机密闭,采用精密止口螺栓,电缆出口加胶垫进行密封。
7、电机上端有一个注水孔,有一个放气孔,下部有一个放水孔。
8、电机下部装有上下止推轴承,止推轴承上有沟槽用于冷却,和它对磨的是不锈钢推力盘,随水泵的上下轴向力。
用途
QJ型井用潜水泵是电机与水泵直联潜入水中工作的提水机具,它适用于从深井提取地下水,也可用于河流、水库、水渠等提水工程:主要用于农田灌溉及高原山区的人畜用水,亦可供城市、工厂、铁路、矿山、工地供排水使用。
型号意义

技术选型参数表
|
序号 |
型号 |
流量(m3/h) |
扬程(m) |
电机功率(KW) |
额定电流A |
出水管直径 |
配套电缆规格 |
|
1 |
1OOQJ2-50/10 |
2 |
40 |
0.75 |
2.0 |
40 |
3×1.5+1×1 |
|
2 |
100QJ2-70/14 |
70 |
1.1 |
3.1 |
3×1.5+1×1 |
||
|
3 |
100QJ2-80/16 |
80 |
1.1 |
3.1 |
3×1.5+1×1 |
||
|
4 |
100QJ2-100/20 |
100 |
1.5 |
3.8 |
3×1.5+1×1 |
||
|
5 |
100QJ2-110/22 |
110 |
1.5 |
3.8 |
3×1.5+1×1 |
||
|
6 |
100QJ2-140/28 |
140 |
1.5 |
3.8 |
3×1.5+1×1 |
||
|
7 |
100QJ2-150/30 |
150 |
2.2 |
5.6 |
3×1.5+1×1 |
||
|
8 |
1OOOJ2-160/32 |
160 |
2.2 |
5.6 |
3×2.5+1×1.5 |
||
|
9 |
100QJ2-190/38 |
190 |
2.2 |
5.6 |
3×2.5+1×1.5 |
||
|
10 |
1OOOJ2-200/40 |
200 |
3.0 |
7.3 |
3×4+1×2.5 |
||
|
11 |
100QJ3.2-40/6 |
2.2 |
40 |
0.75 |
2.0 |
40 |
3×1.5+1×1 |
|
12 |
1OOOJ3.2-54/8 |
54 |
0.75 |
2.0 |
3×1.5+1×1 |
||
|
13 |
100QJ3.2.68/10 |
68 |
1.1 |
3.1 |
3×1.5+1×1 |
||
|
14 |
100QJ3.2-72/11 |
72 |
1.1 |
3.1 |
3×1.5+1×1 |
||
|
15 |
1OOQJ3.2-99/15 |
99 |
1.5 |
3.8 |
3×1.5+1×1 |
||
|
16 |
1OOQJ3.2-108/16 |
108 |
2.2 |
5.6 |
3×1.5+1×1 |
||
|
17 |
100QJ3.2-135/20 |
135 |
2.2 |
5.6 |
3×2.5+1×1.5 |
||
|
18 |
1OOQJ3.2-144/21 |
144 |
3.O |
7.3 |
3×4+1×2.5 |
||
|
19 |
100QJ3.2-170/25 |
170 |
3.0 |
7.3 |
3×4+1×2.5 |
||
|
20 |
100QJ3.2-230/34 |
230 |
4.0 |
10.26 |
3×4+1×2.5 |
||
|
21 |
100QJ5-24/6 |
5 |
24 |
0.75 |
2.0 |
40 |
3×1.5+1×1 |
|
22 |
100QJ5-36/9 |
36 |
1.1 |
3.1 |
3×1.5+1×1 |
||
|
23 |
100QJ5-48/12 |
48 |
1.5 |
3.8 |
3×1.5+1×1 |
||
|
24 |
100QJ5-64/16 |
64 |
2.2 |
5.6 |
3×1.5+1×1 |
||
|
25 |
100QJ5-72/18 |
72 |
2.2 |
5.6 |
3×1.5+1×1 |
||
|
26 |
100QJ5-88/22 |
88 |
3.0 |
7.3 |
3×2.5+1×1.5 |
||
|
27 |
100QJ5-96/24 |
96 |
3.0 |
7.3 |
3×2.5+1×1.5 |
||
|
28 |
1OOQJ5-108/27 |
108 |
3.0 |
7.3 |
3×4+1×2.5 |
||
|
29 |
100QJ5-128/32 |
128 |
4.0 |
10.26 |
3×4+1×2.5 |
||
|
30 |
100QJ5-164/41 |
164 |
5.5 |
13.74 |
3×4+1×2.5 |
||
|
31 |
100QJ5-220/55 |
220 |
7.5 |
18.5 |
3×6+1×4 |
|
序号 |
型号 |
流量(m3/h) |
扬程 |
电机功率(KW) |
额定电流(A) |
出水管直径 |
配套电缆规格 |
|
32 |
1OOQJ8-15/3 |
8 |
15 |
0.75 |
2.0 |
50 |
3×1.5+1×1 |
|
33 |
1OOQJ8-20/4 |
20 |
1.1 |
3.1 |
3×1.5+1×1 |
||
|
34 |
1OOQJ8-30/6 |
30 |
1.5 |
3.8 |
3×1.5+1×1 |
||
|
35 |
1OOQJ8-40/8 |
40 |
99 |
5.6 |
3×1.5+1×1 |
||
|
36 |
1OOQJ8-50/10 |
50 |
3.0 |
7.3 |
3×2.5+1×1.5 |
||
|
37 |
1OOOJ8-60/12 |
60 |
3.O |
7.3 |
3×2.5+1×1.5 |
||
|
38 |
1OOQJ8-70/14 |
70 |
3.0 |
7.3 |
3×2.5+1×1.5 |
||
|
39 |
1OOQJ8-85/17 |
85 |
4.0 |
10.26 |
3×2.5+1×1.5 |
||
|
40 |
1OOQJ8-95/19 |
95 |
5.5 |
13.74 |
3×4+1×2.5 |
||
|
41 |
1OOQJ8-100/20 |
100 |
5.5 |
13.74 |
3×4+1×2.5 |
||
|
42 |
1OOQJ8-110/22 |
110 |
5.5 |
13.74 |
3×4+1×2.5 |
||
|
43 |
1OOOJ8-135/27 |
135 |
7.5 |
18.5 |
3×4+1×2.5 |
||
|
44 |
1OOQJ8-150/30 |
150 |
7.5 |
18.5 |
3×4+1×2.5 |
||
|
45 |
1OOQJ10-48/1o |
10 |
48 |
2.2 |
5.6 |
50 |
3×1.5+1×1 |
|
46 |
1OOQJ10-60/13 |
60 |
3.0 |
7.3 |
3×2.5+1×1.5 |
||
|
47 |
1OOQJ10-80/17 |
80 |
4.0 |
10.26 |
3×2.5+1×1.5 |
||
|
48 |
1OOQJ10-108/22 |
108 |
5.5 |
13.74 |
3×4+1×2.5 |
||
|
49 |
1OOQJ10-130/27 |
130 |
7.5 |
18.5 |
3×4+1×2.5 |
||
|
50 |
1OOQJ15-34/10 |
15 |
34 |
3.O |
7.3 |
50 |
3×2.5+1×1.5 |
|
51 |
100QJ15-52/14 |
52 |
4.0 |
10.26 |
3×2.5+1×1.5 |
||
|
52 |
1OOQJ15-58/18 |
58 |
5.5 |
13.74 |
3×4+1×2.5 |
||
|
53 |
1OOQJ15-82/24 |
82 |
7.5 |
18.5 |
3×4+1×2.5 |
||
|
55 |
150QJ5-85/12 |
5 |
85 |
3 |
7.9 |
50 |
3×4 |
|
56 |
150QJ5-100/14 |
100 |
3 |
7.9 |
3×4 |
||
|
57 |
150QJ5-150/21 |
150 |
4 |
10.26 |
3×4 |
||
|
58 |
150QJ5-200/28 |
200 |
5.5 |
13.74 |
3×6 |
||
|
59 |
150QJ5-250/35 |
250 |
7.5 |
18.5 |
3×6 |
||
|
60 |
150QJ5-300/42 |
300 |
9.2 |
22.12 |
3×10 |
||
|
61 |
150QJ10-50/7 |
10 |
50 |
3 |
7.9 |
3×4 |
|
|
62 |
150QJ10-78/11 |
78 |
4 |
10.26 |
3×4 |
|
序号 |
型号 |
流量(m3/h) |
扬程(m) |
电机功率(KW) |
额定电流(A) |
出水管直径 |
配套电缆规格 |
|
63 |
150QJ10-100/14 |
10 |
100 |
5.5 |
13.74 |
50 |
3×4 |
|
64 |
150QJ10-128/18 |
128 |
7.5 |
18.5 |
3×6 |
||
|
65 |
150QJ10-150/21 |
150 |
7.5 |
18.5 |
3×6 |
||
|
66 |
150QJ10-178/25 |
178 |
9.2 |
22.12 |
3×6 |
||
|
67 |
150QJ10-200/28 |
200 |
11 |
26.28 |
3×10 |
||
|
68 |
150QJ10-250/35 |
250 |
13 |
30.87 |
3×10 |
||
|
69 |
150QJ10-300/42 |
300 |
15 |
35.62 |
3×16 |
||
|
70 |
150QJ20-26/4 |
20 |
26 |
3 |
7.9 |
3×4 |
|
|
71 |
150QJ20-33/5 |
33 |
3 |
7.9 |
3×4 |
||
|
72 |
150QJ20-39/6 |
39 |
4 |
10.26 |
3×4 |
||
|
73 |
150QJ20-46/7 |
46 |
5.5 |
13.74 |
3×4 |
||
|
74 |
150QJ20-52/8 |
52 |
5.5 |
13.74 |
3×4 |
||
|
75 |
150QJ20-59/9 |
59 |
5.5 |
13.74 |
3×4 |
||
|
76 |
150Q220-65/10 |
65 |
7.5 |
18.5 |
3×4 |
||
|
77 |
150QJ20-72/11 |
72 |
7.5 |
18.5 |
3×4 |
||
|
78 |
150QJ20-78/12 |
78 |
7.5 |
18.5 |
3×6 |
||
|
79 |
150QJ201-85/13 |
85 |
9.2 |
22.12 |
3×6 |
||
|
80 |
150QJ20-91/14 |
91 |
9.2 |
22.12 |
3×6 |
||
|
81 |
150QJ20-98/15 |
98 |
9.2 |
22.12 |
3×6 |
||
|
82 |
150QJ20-104/16 |
104 |
11 |
26.28 |
3×6 |
||
|
83 |
150QJ20-111/17 |
111 |
11 |
26.28 |
3×6 |
||
|
84 |
150QJ20-117/17 |
117 |
13 |
30.87 |
3×6 |
||
|
85 |
150QJ20-124/19 |
124 |
13 |
30.87 |
3×6 |
||
|
86 |
150QJ20-130/20 |
130 |
13 |
30.87 |
3×6 |
||
|
87 |
150QJ20-137/21 |
137 |
15 |
35.62 |
3×6 |
||
|
88 |
150QJ20-143/22 |
143 |
15 |
35.62 |
3×6 |
||
|
89 |
150QJ20-150/23 |
150 |
15 |
35.62 |
3×6 |
||
|
90 |
150QJ20-156/24 |
156 |
15 |
35.62 |
3×10 |
||
|
91 |
150Q220-163/25 |
163 |
15 |
35.62 |
3×10 |
||
|
92 |
150QJ25-24/3 |
25 |
24 |
3 |
7.9 |
65 |
3×4 |
|
93 |
150QJ25-32/4 |
32 |
4 |
10.3 |
3×4 |
|
序号 |
型号 |
流量(m3/h) |
扬程 |
电机功率(KW) |
额定电流(A) |
出水管直径 |
配套电缆规格 |
|
94 |
150QJ25-40/5 |
25 |
40 |
5.5 |
13.7 |
65 |
3×4 |
|
95 |
150QJ25-48/6 |
48 |
5.5 |
13.7 |
3×4 |
||
|
96 |
150QJ25-56/7 |
56 |
7.5 |
18.5 |
3×4 |
||
|
97 |
150QJ25--64/8 |
64 |
7.5 |
18.5 |
3×4 |
||
|
98 |
150QJ25-72/9 |
72 |
9.2 |
18.5 |
3×6 |
||
|
99 |
1509325-80/10 |
80 |
9.2 |
22.1 |
3×6 |
||
|
100 |
150QJ25-88/11 |
88 |
11 |
26.3 |
3×6 |
||
|
101 |
150QJ25-96/12 |
96 |
11 |
26.3 |
3×6 |
||
|
102 |
150QJ25-104/13 |
104 |
13 |
30.9 |
3×6 |
||
|
103 |
150QJ25-112/14 |
112 |
13 |
30.9 |
3×6 |
||
|
104 |
150QJ25-120/15 |
120 |
15 |
35.6 |
3×6 |
||
|
105 |
150QJ25-128/16 |
128 |
15 |
35.6 |
3×6 |
||
|
106 |
150QJ25-136/17 |
136 |
18.5 |
44.0 |
3×10 |
||
|
107 |
150QJ25-144/18 |
144 |
18.5 |
44.0 |
3×10 |
||
|
108 |
150QJ25-152/19 |
152 |
18.5 |
44.0 |
3×10 |
||
|
109 |
150QJ32-18/3 |
32 |
18 |
3 |
7.9 |
65 |
3×4 |
|
110 |
150QJ32-24/4 |
24 |
4 |
10.26 |
3×4 |
||
|
111 |
150QJ32-30/5 |
30 |
5.5 |
13.74 |
3×4 |
||
|
112 |
150QJ32-36/6 |
36 |
5.5 |
13.74 |
3×4 |
||
|
113 |
150QJ32-42/7 |
42 |
7.5 |
18.5 |
3×6 |
||
|
114 |
150QJ32-54/9 |
54 |
9.2 |
22.12 |
3×6 |
||
|
115 |
150QJ32-66/11 |
66 |
11 |
26.28 |
3×6 |
||
|
116 |
150QJ32-72/12 |
72 |
13 |
30.87 |
3×6 |
||
|
117 |
150QJ32-84/14 |
84 |
13 |
30.87 |
3×6 |
||
|
118 |
150QJ32-90/15 |
90 |
15 |
35.62 |
3×6 |
||
|
119 |
150QJ32-96/16 |
96 |
15 |
35.62 |
3×6 |
||
|
120 |
150QJ32-108/18 |
108 |
18.5 |
44.0 |
3×10 |
||
|
121 |
150QJ50-6/1 |
50 |
6 |
3 |
7.9 |
80 |
3×4 |
|
122 |
150QJ50-12/2 |
12 |
4 |
10.26 |
3×4 |
||
|
123 |
150QJ50-18/3 |
18 |
5.5 |
13.74 |
3×4 |
||
|
124 |
150QJ50-24/4 |
24 |
7.5 |
18.5 |
3×6 |
||
|
125 |
150Qj50-30/5 |
30 |
9.2 |
22.12 |
3×6 |
|
序号 |
型号 |
流量(m3/h) |
扬程 |
电机功率(KW) |
额定电流(A) |
出水管直径 |
配套电缆规格 |
|
126 |
150QJ501-36/6 |
50 |
36 |
9.2 |
22.12 |
80 |
3×6 |
|
127 |
150QJ501-42/7 |
42 |
11 |
26.28 |
3×6 |
||
|
128 |
150QJ50-48/8 |
48 |
13 |
30.87 |
3×6 |
||
|
129 |
150QJ50-54/9 |
54 |
15 |
35.62 |
3×6 |
||
|
130 |
150QJ50-60/10 |
60 |
18.5 |
44.0 |
3×6 |
||
|
131 |
150QJ50-66/11 |
66 |
18.5 |
44.0 |
3×6 |
||
|
132 |
150QJ50-72/12 |
72 |
18.5 |
44.0 |
3×10 |
|
133 |
200QJ20-40/3 |
20 |
40 |
4 |
10.1 |
50 |
3×4 |
|
134 |
200QJ20-54/4 |
54 |
5.5 |
13.6 |
3×4 |
||
|
135 |
200QJ20-67/5 |
67 |
7.5 |
18 |
3×4 |
||
|
136 |
200QJ20-81/6 |
81 |
7.5 |
18 |
3×4 |
||
|
137 |
200QJ20-93/7 |
93 |
Q9 |
21.7 |
3×6 |
||
|
138 |
200QJ20-108/8 |
108 |
11 |
25.8 |
3×6 |
||
|
139 |
200QJ20-121/9 |
121 |
13 |
29.8 |
3×6 |
|
序号 |
型号 |
流量(m3/h) |
扬程 |
电机功率(KW) |
额定电流(A) |
出水管直径 |
配套电缆规格 |
|
140 |
2000J20-133/10 |
20 |
133 |
15 |
33.9 |
50 |
3×6 |
|
141 |
2000J20-148/11 |
148 |
15 |
33.9 |
3×6 |
||
|
142 |
2000320-175/13 |
175 |
18.5 |
41.6 |
3×10 |
||
|
143 |
2000J20-202/15 |
202 |
22 |
48.2 |
3×16 |
||
|
144 |
2000J20-243/18 |
243 |
25 |
54.5 |
65 |
3×16 |
|
|
145 |
20003201-270/20 |
270 |
30 |
65.4 |
3×25 |
||
|
146 |
2000320-297/22 |
297 |
30 |
65.4 |
3×25 |
||
|
147 |
2000J20-338/25 |
338 |
37 |
79.7 |
3×25 |
||
|
148 |
200Q320-350/26 |
350 |
37 |
79.7 |
3×35 |
||
|
149 |
2000320-363/27 |
363 |
37 |
79.7 |
3×35 |
||
|
150 |
200QJ20-400/30 |
400 |
45 |
96.9 |
3×50 |
||
|
151 |
2000J20-450/34 |
450 |
45 |
96.9 |
3×50 |
||
|
152 |
2000332-26/2 |
32 |
26 |
4 |
10.1 |
65 |
3×4 |
|
153 |
2000J32-39/3 |
39 |
5.5 |
13.6 |
3×4 |
||
|
154 |
200Q332-52/4 |
52 |
7.5 |
18 |
3×4 |
||
|
155 |
2000J32-65/5 |
65 |
11 |
25.8 |
3×6 |
||
|
156 |
2000332-78/6 |
78 |
11 |
25.8 |
3×6 |
||
|
157 |
2000J32-91/7 |
91 |
13 |
29.8 |
3×6 |
||
|
158 |
200Q3321-104/8 |
104 |
15 |
33.9 |
3×6 |
||
|
159 |
2000332-130/10 |
130 |
18.5 |
41.6 |
3×10 |
||
|
160 |
2000332-156/12 |
156 |
25 |
54.5 |
3×16 |
||
|
161 |
2000J32-195/15 |
195 |
30 |
65.4 |
3×16 |
||
|
162 |
2000J32-234/18 |
234 |
37 |
79.7 |
3×25 |
||
|
163 |
2000J32-247/19 |
247 |
37 |
79.7 |
3×25 |
||
|
164 |
200Q332-260/20 |
260 |
45 |
96.9 |
3×25 |
||
|
165 |
2000332-286/22 |
286 |
45G |
96.9 |
3×35 |
||
|
167 |
2000340-26/2 |
40 |
26 |
5.5 |
13.6 |
3×4 |
|
|
168 |
200QJ40-39/3 |
39 |
7.5 |
18 |
3×4 |
||
|
169 |
200Q340-52/4 |
52 |
q9 |
21.7 |
3×6 |
||
|
170 |
2000340-65/5 |
65 |
11 |
25.8 |
3×6 |
||
|
171 |
200Q340-78/6 |
78 |
15 |
33.9 |
3×6 |
||
|
172 |
2000J40-104/8 |
104 |
18.5 |
41.6 |
3×10 |
||
|
173 |
200Q340-117/9 |
117 |
22 |
48.2 |
3×10 |
||
|
174 |
2000340-143/11 |
143 |
25 |
54.5 |
3×10 |
|
序号 |
型号 |
流量(m3/h) |
扬程(m) |
电机功率(KW) |
额定电流(A) |
出水管直径 |
配套电缆规格 |
|
175 |
200QJ40-169/13 |
40 |
169 |
30 |
65.4 |
65 |
3×16 |
|
176 |
200QJ40-182/14 |
182 |
37 |
79.7 |
3×16 |
||
|
177 |
200QJ40-208/16 |
208 |
37G |
79.7 |
3×25 |
||
|
178 |
200QJ40-234/18 |
234 |
45G |
96.9 |
3×25 |
||
|
179 |
200QJ40-247/19 |
247 |
45G |
96.9 |
3×35 |
||
|
180 |
200QJ50-13/1 |
50 |
13 |
4 |
10.1 |
80 |
3×4 |
|
181 |
200QJ50-26/2 |
26 |
5.5 |
13.6 |
3×4 |
||
|
182 |
200QJ50-39/3 |
39 |
9.2 |
21.7 |
3×4 |
||
|
183 |
200QJ50-52/4 |
52 |
11 |
25.8 |
3×6 |
||
|
184 |
200QJ50-65/5 |
65 |
15 |
33.9 |
3×6 |
||
|
185 |
200QJS0-78/6 |
78 |
18.5 |
41.6 |
3×6 |
||
|
186 |
200QJ50-91/7 |
91 |
22 |
48.2 |
3×10 |
||
|
187 |
200QJ50-104/8 |
104 |
25 |
54.5 |
3×10 |
||
|
188 |
200QJ50-117/9 |
117 |
30 |
65.4 |
3×10 |
||
|
189 |
200QJ50-130/1O |
130 |
30 |
65.4 |
3×16 |
||
|
190 |
200QJ50-156/12 |
156 |
37 |
79.7 |
3×16 |
||
|
191 |
200QJ50-182/14 |
182 |
45G |
96.9 |
3×25 |
||
|
192 |
200QJ50-195/15 |
195 |
45G |
96.9 |
3×25 |
||
|
193 |
200QJ63-12/1 |
63 |
12 |
4 |
10.1 |
80 |
3×4 |
|
194 |
200QJ63-24/2 |
24 |
7.5 |
18 |
3×4 |
||
|
195 |
200QJ63-36/3 |
36 |
11 |
25.8 |
3×6 |
||
|
196
|
200QJ63-48/4 |
48 |
15 |
33.9 |
3×6 |
||
|
197 |
200QJ63-60/5 |
60 |
18.5 |
41.6 |
3×10 |
||
|
198 |
200QJ63-72/6 |
72 |
99 |
48.2 |
3×10 |
||
|
199 |
200QJ63-84/7 |
84 |
9氏 |
54.5 |
3×10 |
||
|
200 |
200QJ63-96/8 |
96 |
30 |
65.4 |
3×16 |
||
|
201 |
200QJ63-108/9 |
108 |
30 |
65.4 |
3×16 |
||
|
202 |
200QJ63-120/10 |
120 |
37 |
79.7 |
3×25 |
||
|
203 |
200QJ63-144/12 |
144 |
45 |
96.9 |
3×25 |
||
|
204 |
200QJ80-11/1 |
80 |
11 |
4 |
10.1 |
100 |
3×4 |
|
205 |
200QJ80-22/1 |
22- |
7.5 |
18 |
3×4 |
||
|
206 |
200QJS0-33/3 |
33 |
11 |
25.8 |
3×6 |
||
|
207 |
200QJ80-44/4 |
44 |
15 |
33.9 |
3×6 |
||
|
208 |
200QJ80-55/5 |
55 |
18.5 |
41.6 |
3×10 |
|
序号 |
型号 |
流量(m3/h) |
扬程(m) |
电机功率(KW) |
额定电流(A) |
出水管直径 |
配套电缆规格 |
|
209 |
200QJ80-66/6 |
80 |
66 |
22 |
48.2 |
100 |
3×10 |
|
210 |
200QJ801-77/7 |
77 |
30 |
65.4 |
3×16 |
||
|
211 |
200QJ80-88/8 |
88 |
37 |
79.7 |
3×16 |
||
|
212 |
2000J80-99/9 |
99 |
37 |
79.7 |
3×16 |
||
|
213 |
200QJ80-121/11 |
121 |
45 |
96.9 |
3×25 |
||
|
214 |
250QJ32-138/6 |
32 |
138 |
22 |
47.9 |
65 |
3×10 |
|
215 |
250QJ32-161/7 |
161 |
25 |
53.8 |
3×16 |
||
|
216 |
250QJ321-184/8 |
184 |
30 |
64.2 |
3×16 |
||
|
217 |
250QJ32-207/9 |
207 |
37 |
77.8 |
3×16 |
||
|
218 |
250QJ32-230/10 |
230 |
37 |
77.8 |
3×25 |
||
|
219 |
250QJ32-253/11 |
253 |
45 |
94.1 |
3×25 |
||
|
220 |
250QJ32-276/12 |
276 |
45 |
94.1 |
3×25 |
||
|
231 |
250QJ32-300/13 |
300 |
55G |
114.3 |
80 |
3×35 |
|
|
232 |
250QJ32-322/14 |
322 |
55G |
114.3 |
3×35 |
||
|
233 |
250QJ32-345/15 |
345 |
63G |
130.9 |
3×50 |
||
|
234 |
250QJ32-368/16 |
368 |
63G |
130.9 |
3×50 |
||
|
235 |
250QJ32-391/17 |
391 |
63G |
130.9 |
3×70 |
||
|
236 |
250QJ32-414/18 |
414 |
75G |
152.3 |
3×70 |
||
|
237 |
250QJ32-437/19 |
437 |
75G |
152.3 |
3×70 |
||
|
238 |
250QJ32-460/20 |
460 |
75G |
152.3 |
3×70 |
||
|
239 |
250QJ32-483/21 |
483 |
90G |
182.8 |
3×95 |
||
|
240 |
250QJ32-506/22 |
506 |
90G |
182.8 |
3×95 |
||
|
241 |
250QJ32-529/23 |
529 |
90G |
182.8 |
3×95 |
||
|
242 |
250QJ32-552/24 |
552 |
90G |
182.8 |
3×95 |
||
|
243 |
250QJ32-575/25 |
575 |
100G |
203.1 |
3×95 |
||
|
244 |
250QJ32-598/26 |
598 |
100G |
203.1 |
3×95 |
||
|
245 |
250QJ50-20/1 |
50 |
20 |
5.5 |
13.6 |
65 |
3×4 |
|
246 |
250QJ50-40/2 |
40 |
9.2 |
21.7 |
3×4 |
||
|
247 |
250QJ50-60/3 |
60 |
13 |
29.8 |
3×6 |
||
|
248 |
250QJ50-80/4 |
80 |
18.5 |
41.6 |
3×10 |
||
|
249 |
250QJ50-100/4 |
100 |
22 |
47.9 |
80 |
3×10 |
|
|
250 |
250QJ50-120/6 |
120 |
25 |
53.8 |
3×16 |
||
|
251 |
250QJ50-140/7 |
140 |
37 |
77.8 |
3×16 |
|
序号 |
型号 |
流量(m3/h) |
扬程(m) |
电机功率(KW) |
额定电流(A) |
出水管直径 |
配套电缆规格 |
|
252 |
250QJ50-160/8 |
|
160 |
37 |
77.8 |
80 |
3×16 |
|
253 |
250QJ50-180/9 |
180 |
45 |
94.1 |
3×25 |
||
|
254 |
250QJ50-200/10 |
200 |
45 |
94.1 |
3×25 |
||
|
255 |
2509350-220/11 |
220 |
55G |
114.3 |
3×35 |
||
|
256 |
250QJ50-240/12 |
240 |
55G |
114.3 |
100 |
3×50 |
|
|
257 |
250QJ50-260/13 |
260 |
63G |
130.9 |
3×50 |
||
|
258 |
250QJ50-280/14 |
280 |
63G |
130.9 |
3×50 |
||
|
259 |
250QJ50-300/15 |
300 |
63G |
130.9 |
3×50 |
||
|
260 |
250QJ50-320/16 |
50 |
320 |
75G |
152.3 |
3×70 |
|
|
261 |
250Qj50-340/17 |
340 |
90G |
182.8 |
3×70 |
||
|
262 |
250QJ50-360/18 |
360 |
90G |
182.8 |
3×70 |
||
|
263 |
250QJ50-380/19 |
380 |
1OOG |
203.1 |
3×95 |
||
|
264 |
250QJ50-400/20 |
400 |
100G |
203.1 |
3×95 |
||
|
265 |
2509ff50-420/21 |
420 |
110G |
223.4 |
3×95 |
||
|
266 |
250QJ50-440/22 |
440 |
110G |
223.4 |
3×95 |
||
|
267 |
250QJ50-460/23 |
460 |
110G |
223.4 |
3×95 |
||
|
268 |
250QJ50-480/24 |
480 |
110G |
223.4 |
3-2×70 |
||
|
269 |
250QJ50-500/25 |
500 |
110G |
223.4 |
3-2×70 |
||
|
270 |
250QJ80-20/1 |
80 |
20 |
7.5 |
18 |
3×4 |
|
|
271 |
250QJ80-40/9, |
40 |
15 |
33.9 |
3×6 |
||
|
272 |
250QJ80-60/3 |
60 |
22 |
47.9 |
3×10 |
||
|
273 |
250QJ80-80/4 |
80 |
30 |
64.2 |
3×16 |
||
|
274 |
250QJ80-100/5 |
100 |
37 |
77.8 |
3×25 |
||
|
275 |
250QJ801-120/6 |
120 |
45 |
94.1 |
3×25 |
||
|
276 |
250QJ80-140/7 |
140 |
55 |
114.3 |
3×25 |
||
|
277 |
250QJ80-160/8 |
160 |
55 |
114.3 |
3×25 |
||
|
278 |
250QJ80-180/9 |
180 |
63 |
130.9 |
3×35 |
||
|
279 |
250QJ80-200/1o |
200 |
75 |
152.3 |
3×50 |
||
|
280 |
250QJ80-220/11 |
220 |
90G |
182.8 |
3×70 |
||
|
281 |
250QJ80-240/12 |
240 |
90G |
182.8 |
3×70 |
||
|
282 |
250QJ80-260/13 |
260 |
90G |
182.8 |
3×70 |
|
序号 |
型号 |
流量(m3/h) |
扬程(m) |
电机功率(KW) |
额定电流(A) |
出水管直径 |
配套电缆规格 |
|
283 |
250QJ80-280/14 |
80 |
280 |
100G |
203.1 |
100 |
3×95 |
|
284 |
250QJ80-300/15 |
300 |
110G |
223.4 |
3×95 |
||
|
285 |
250QJ80-320/16 |
320 |
110G |
223.4 |
3×95 |
||
|
286 |
250QJ100-18/1 |
100 |
18 |
7.5 |
18 |
3×4 |
|
|
287 |
250QJ100-36/2 |
36 |
15 |
33.9 |
3×6 |
||
|
288 |
250Q5100-54/3 |
54 |
25 |
53.8 |
3×16 |
||
|
289 |
25093100-72/4 |
72 |
30 |
64.2 |
3×16 |
||
|
290 |
250QJ100-108/6 |
108 |
45 |
94.1 |
3×25 |
||
|
291 |
250QJ100-126/7 |
126 |
55 |
114.3 |
3×25 |
||
|
292 |
250QJ100-144/8 |
144 |
63 |
130.9 |
3×35 |
||
|
293 |
250QJ100-162/9 |
162 |
75 |
152.3 |
3×35 |
||
|
294 |
250QJ100-198/11 |
198 |
90G |
182.8 |
3×50 |
||
|
295 |
250QJ100-216/12 |
216 |
100G |
203.1 |
3×70 |
||
|
296 |
250QJ100-234/13 |
234 |
110G |
223.4 |
3×95 |
||
|
297 |
250QJ100-252/14 |
252 |
110G |
233.4 |
3×95 |
||
|
298 |
250QJ125-16/1 |
125 |
16 |
9.2 |
21.7 |
125 |
3×4 |
|
299 |
250QJ1251-32/2 |
32 |
18.5 |
41.6 |
3×6 |
||
|
300 |
250QJ125-48/3 |
48 |
25 |
53.8 |
3×50 |
||
|
301 |
250QJ125-64/4 |
64 |
37 |
77.8 |
3×16 |
||
|
302 |
250QJ125-80/5 |
80 |
45 |
94.1 |
3×16 |
||
|
303 |
250QJ125-96/6 |
96 |
55 |
114.3 |
3×25 |
||
|
304 |
250QJ125-112/7 |
112 |
63 |
130.9 |
3×35 |
||
|
305 |
250QJ125-128/8 |
128 |
75 |
152.3 |
3×35 |
||
|
306 |
250QJ125-144/9 |
144 |
90G |
182.8 |
3×35 |
||
|
307 |
250QJ125-160/10 |
160 |
90G |
182.8 |
3×35 |
||
|
308 |
250QJ125-176/11 |
176 |
100G |
203.1 |
3×50 |
||
|
309 |
250QJ125-192/12 |
192 |
110G |
223.4 |
3×50 |
||
|
310 |
250QJ125-208/13 |
208 |
110G |
223.4 |
3×70 |
||
|
311 |
250QJ140-15/1 |
140 |
15 |
9.2 |
21.7 |
3×6 |
|
|
312 |
250QJ140-30/2 |
30 |
18.5 |
41.6 |
3×6 |
||
|
313 |
250QJ140-45/3 |
45 |
30 |
64.2 |
3×16 |
|
序号 |
型号 |
流量(m3/h) |
扬程(m) |
电机功率(KW) |
额定电流(A) |
出水管直径 |
配套电缆规格 |
|
314 |
250QJ140-60/4 |
140 |
60 |
37 |
77.8 |
125 |
3×16 |
|
315 |
250QJ140-75/5 |
75 |
45 |
94.1 |
3×16 |
||
|
316 |
250QJ140-90/6 |
90 |
55 |
114.3 |
3×25 |
||
|
317 |
250QJ140-105/7 |
105 |
63 |
130.9 |
3×35 |
||
|
318 |
250QJ140-120/8 |
120 |
75 |
152.3 |
3×35 |
||
|
319 |
250QJ140-150/10 |
150 |
90G |
182.8 |
3×35 |
||
|
320 |
250QJ140-165/11 |
165 |
100G |
203.1 |
3×50 |
||
|
321 |
250QJ140-180/12 |
180 |
110G |
223.4 |
3×70 |
||
|
322 |
250QJ160-15/1 |
160 |
15 |
11 |
25.8 |
3×6 |
|
|
323 |
250QJ160-30/2 |
30 |
22 |
47.9 |
3×16 |
||
|
324 |
250QJ160-45/3 |
45 |
37 |
77.8 |
3×16 |
||
|
325 |
250QJ160-60/4 |
60 |
45 |
94.1 |
3×25 |
||
|
326 |
250QJ160-75/5 |
75 |
55 |
114.3 |
3×25 |
||
|
327 |
250QJ160-90/6 |
90 |
63 |
.130.9 |
3×35 |
||
|
328 |
250QJ160-105/7 |
105 |
75 |
152.3 |
3×35 |
||
|
329 |
250QJ160-120/8 |
120 |
90 |
182.8 |
3×35 |
||
|
330 |
250QJ160-135/9 |
135 |
90G |
182.8 |
3×35 |
||
|
331 |
250QJ160-150/10 |
150 |
100G |
203.1 |
3×50 |
||
|
332 |
300QJ200-20/1 |
200 |
20 |
18.5 |
41.6 |
125 |
3×6 |
|
333 |
300QJ200-40/2 |
40 |
37 |
77.8 |
3×16 |
||
|
334 |
300QJ200-60/3 |
60 |
55 |
114.3 |
3×25 |
||
|
335 |
300QJ200-80/4 |
80 |
75 |
152.3 |
3×35 |
||
|
336 |
300QJ200-100/5 |
100 |
90G |
182.8 |
3×50 |
||
|
337 |
300QJ200-120/6 |
120 |
110G |
220.8 |
3×50 |
||
|
338 |
300QJ200-140/7 |
140 |
125G |
249.5 |
3×70 |
||
|
339 |
300QJ200-160/8 |
160 |
140G |
277.8 |
3×70 |
||
|
340 |
300QJ230-20/1 |
230 |
20 |
22 |
47.9 |
150 |
3×6 |
|
340 |
300QJ230-40/2 |
40 |
45 |
94.1 |
3×16 |
||
|
342 |
300QJ230-60/3 |
60 |
75 |
154 |
3×25 |
||
|
343 |
300QJ230-80/4 |
80 |
90G |
183.8 |
3×35 |
||
|
344 |
300QJ230-100/5 |
100 |
90G |
183.8 |
3×50 |
|
序号 |
型号 |
流量(m3/h) |
扬程(m) |
电机功率(KW) |
额定电流(A) |
出水管直径 |
配套电缆规格 |
|
345
|
300QJ250-15/1 |
250 |
15 |
18.5 |
41.6 |
150 |
3×10 |
| 346 |
300QJ250-30/2 |
30 |
37 |
77.8 |
3×16 |
||
|
347
|
300QJ250-24/1 |
24 |
30 |
64.2 |
3×16 |
||
|
348
|
300QJ250-48/2 |
48 |
55 |
114.3 |
3×25 |
||
|
349
|
300QJ250-72/3 |
72 |
90G |
183.8 |
3×35 |
||
|
350
|
300QJ320-28/1 |
320 |
28 |
45 |
94.1 |
200 |
3×16 |
|
351
|
300QJ320-56/2 |
56 |
75 |
152.3 |
3×35 |
||
|
352
|
300QJ320-84/3 |
84 |
125G |
249.5 |
3×50 |
||
|
353
|
350QJ250-25/1 |
250 |
25 |
30 |
64.2 |
150 |
3×25 |
|
354
|
350QJ250-50/2 |
50 |
63 |
130.9 |
3×35 |
||
|
355
|
350QJ250-75/3 |
75 |
90G |
182.8 |
3×50 |
||
|
356
|
350QJ250-100/4 |
100 |
125G |
249.5 |
3×50 |
||
|
357
|
350QJ320-30/1 |
320 |
30 |
45 |
94.1 |
200 |
3×16 |
|
358
|
350QJ320-60/2 |
60 |
90G |
182.8 |
3×50 |
||
|
359
|
350QJ320-90/3 |
90 |
145 |
277.8 |
3×50 |
||
|
360
|
350QJ320-20/1 |
20 |
30 |
64.2 |
3×16 |
||
|
361
|
350QJ320-40/2 |
40 |
63 |
130.9 |
3×35 |
||
|
362
|
350QJ500-20/1 |
500 |
20 |
45 |
94.1 |
3×25 |
|
|
363
|
350QJ500-40/1 |
40 |
90G |
182.8 |
3×50 |
安装启动运行:
1、QJ型深井潜水泵安装前的检查与准备
(1)检查水井是否符合本泵使用条件,即井径、垂直和井壁质量以及静水位、动水位、涌水量和水质条件等,若不符合使用条件必须采取相应措施,否则不能将泵下井。
(2)检查供电设备及供电线路能否保证电泵正常运行。
(3)电源电压和频率是否符合使用条件。
(4)熟悉安装使用说明书,对新钻的水井必须进行洗井,清除水中泥砂后,方能安装QJ型潜水电泵。
(5)检查电气线路,控制和保护装置是否合理安全可靠。
(6)准备好各种安装使用工具,竖立三角架和吊链(或其它吊装工具)要安全、可靠、使用方便。
2、QJ型深井潜水泵安装

(2)仔细检查电缆和接头有无碰伤或损坏,发现问题及时包孔。
(3)用500伏兆欧表测定绕阻的绝缘电阻不低于l50兆欧。
(4)安装好保护开关和起动设备,并检查电机内水是否灌满然后上紧注水、放气孔螺栓,然后上好护线板、滤水网准备安装下井。
(5)在深井泵的出水口安装短输水管一节,并用夹板夹住吊起落入井中,使夹板座落井台上。
(6)再用一付夹板夹住另一节输水管,然后吊起降下与短输水管法兰相联接。升起吊链拆下第一付夹板,使泵管下降井中又座落在井台上,依次反复进行安装,下井,直到全部装完,后一节夹板不卸将泵固定在井口上。
(7)后放上井盖,弯管,闸阀出水管等。
(8)每次连接法兰时要加胶垫,对正后紧固螺钉要对角线方向同时上紧,防止歪斜漏水。
(9)电缆线要固定在输水管法兰上凹槽内,每节都用绑绳固定好,下井过程要小心,电缆不能当吊绳使用,更不要碰伤电缆。
(10)下泵过程有卡住现象,要想法克服卡点,不能强行下泵,以免卡死。
(11)大口井等安装泵时严禁人员下井。
(12)保护开关和起动设备应配有电压、电流表、指示灯,并安装在配电盘上,放在井台周围适当的位置。
3.深井泵起动
(1)用500伏兆欧表测量电机绕阻对地绝缘电阻不低于5兆欧。
(2)检查三相电源线路,电压是否符合规定,各种仪表、保护设备及接线正确无误后方可合闸起动。
(3)起动后观察电流、电压是否符合规定范围,运转声音有无异常及震动现象发生,若不正常应及时找出原因处理解决。
4、QJ型深井潜水泵试转向
为了判明正确的电机旋转方向,应让泵在闭阀状态下,按两个方向运转。通过调换三
相电源的任意两相,改变旋转方向。旋转方向不同,压力表的读数也不同。压力较高的方向
就是正确的旋转方向。也可以在阀门打开的情况下,从流量的大小来判别旋转方向,流量较大的方向为正确的旋转方向。
5、QJ型深井潜水泵停机
(1)关闭开关停机,再起动须等5分钟或更长的时间,以防电机温升过高,停机后好切断电源。
(2)保护开关不得停用,或用铝丝铜丝加大保险丝的作法是错误的。
(3)QJ潜水泵的连续停机时间不得超过14天,否则,水中的杂质,沉淀在轴承和叶轮间隙内,甚至会堵住水泵转轴。如果工作环境要求停机时间超过l 4天,应至少每1 4天开机一次,运转5分钟,以保证机组随时开机使用。
注意事项
电缆接头应严格按附图进行:
1.QJ型深井潜水泵下井前应检查,各部螺丝有无松动,电缆有无破口,电机是否漏水,电机轴、水泵轴转动是否灵活无阻;
2.下井前检查电机电阻应在1 50兆欧以上;
3.电机注水要认真防止假满,切忌未灌满清水即开始运行;
4.保护开关和启动设备应按规定配齐;
5.电机运转2500小时应进行一次大修,l500小时应进行小检修;
6.电泵停机存放时应把电机内存水放完;
7.严禁不懂装懂野蛮拆装、修理应在本厂或定点修理厂进行;
8.禁止频繁“开"、“停";
9.安装电泵时谨防异物掉入井内;
10.如遇下列情况应停机检修:
(1)电流电压超过额定值。
(2)流量明显减少。
(3)水泵间歇出水或响声震动较大。
(4)保护开关频繁跳闸。
(5)电机绝缘,电阻低于0.5兆欧。
订货须知











