
SK系列水环式真空泵

用途及使用范围
SK型水环式真空泵及压缩机是用来抽吸或压送气体和其它无腐蚀性、不溶于水、不含有固体颗粒的气体,以便在密闭容器中形成真空或压力,满足工艺流程要求。吸入或压送的气体中允许混有少量的液体。
SK型水环式真空泵及压缩机广泛应用于机械、石油、化工、制药、陶瓷、制糖、印染、冶金及电子等行业。由于在工作过程中,该类泵对气体的压缩是在等温状态下进行的,因此在压送或抽吸易燃、易爆气体时,不易发生危险,所以在其应用更加广泛。
工作原理

1.端盖 2. 泵体 3.叶轮 4.排气孔 5.水环 6.吸气孔 a.橡胶球孔 b.泵体 c.排气管 d吸气管 e吸气孔 f 进水
当SK型水环式真空泵作为压缩机使用时,泵排气口接有气水分离器,气水混合物进入气水分离器后自动分离,气体由排气管输送到所需系统而工作水经过自动溢于开关放出,压缩气体时,工作水极易发热,水由SK型水环式真空泵出口排出,温度会变得较高,因此在气水分离器的底部,要不断地供给冷水,以补充被放走的热水,同时起冷却作用,使工作水温度不致过高,从而保证压缩机性能,达到技术指标,满足工艺要求。

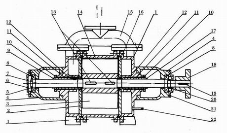
1.端盖 2.排气园盘 3.后轴承架 4.轴承 5.后轴承城市盖 6.轴 7.园螺母 8. 后轴套
9. 填料压盖 10.填料压圈 11.填料 12.平键 13. 叶轮 14.泵体 15.吸气园盘 16.前轴套17.前轴承架18.前轴承压盖 19.平键 20.联轴器 21.进水管
图3 SK-1.5/3水环真空泵结构图

1.端盖 2.后吸排气园盘 3.叶轮 4.轴承架 5.园螺母 6.后轴承压盖 7.轴 8.轴承 9. 后轴套10.填料压圈 11.填料 12.填料压圈 13.平键 14.泵体 15.连通管 16.前吸排气园盘 17.前轴套 18.联轴器具 19.平键 20.园螺母 21.前轴承压盖
结构说明
SK型水环式真空泵由泵体、两个端盖、叶轮、轴等部件组成。进气管和排气管通过安装在端盖上的园盘上的吸气孔和排气孔与泵腔相连,轴偏心地安装在泵体中,叶轮用平键固定在轴上。SK型水环式真空泵两端面的总间隙由泵体和园盘之间的垫来调整,叶轮与端盖上的园盘之间的间隙由轴套(SK-1.5/3/6)或背帽(SK-12/20/30)推动叶轮来调整,而SK-42以上轴与叶轮为过盈配合,此间隙由前端定位时确定,SK-42/60/85/120无轴套,其余结构与SK-6/12/20/30相同。叶轮两端面与端盖园盘的间隙决定气体在泵腔内由进气口至排气口流动中损失的大小及极限压力。
SK型水环式真空泵填料安装在两端盖内,密封不经由端盖中的小孔进入填料中,冷却填料及加强密封效果。叶轮形成水环所需的补充水由供水管供给,供水管可与气水分离器连在一起循环供水。
SK型水环式真空泵密封形式采用机械密封,机械密封安装在填料空腔里,填料省略。填料压盖换成机械密封压盖,其余结构相同。轴承由园螺母固定在轴上。
SK型水环式真空泵在端盖上安装有园盘,园盘上设有吸、排气孔和橡胶球阀。橡胶球阀的作用是当叶轮叶片间的气体压力达到排气压力时,在排气口以前就将气体排出,减少了因气体压力过大而消耗的功率,从而降低功率消耗。
主要技术参数
| 型 号 | 吸气量(米3/分) | 极限真空 | 功率(千瓦) |
转速
(转/分)
(r.p.m)
|
压缩机
压力
(兆帕)
Mpa
|
口 径 |
水耗量
(升/分)
i/min)
|
|||||
| 大 | 真空度为-450mmHg | mmHg | MPa | 真空泵 | 压缩机 | |||||||
| 进 | 出 | |||||||||||
| SK-1.5 | 1.5 | 1.35 | -680 | -0.091 | 3 | 4 | 1450 | 0-1 | 70 | 70 | 10~15 | |
| SK-3 | 3 | 2.8 | -710 | -0.093 | 5.5 | 7.5 | 1450 | 0-1 | 70 | 70 | 15~20 | |
| SK-6 | 6 | 5.4 | -710 | -0.093 | 11 | 15 | 1450 | 0-1 | 80 | 80 | 20~30 | |
| SK-9 | 9 | 8.1 | -710 | -0.093 | 15 | 22 | 970 | 0-1 | 80 | 80 | 30~40 | |
| SK-12 | 12 | 11 | -710 | -0.093 | 18.5 | 30 | 970 | 0-1 | 80 | 80 | 40~50 | |
| SK-15 | 15 | 13.5 | -710 | -0.093 | 30 | 45 | 970 | 0-1 | 80 | 80 | 50~60 | |
| SK-20 | 20 | 18 | -710 | -0.093 | 37 | 55 | 740 | 0-1 | 150 | 150 | 60~80 | |
| SK-30 | 30 | 28 | -710 | -0.093 | 55 | 75 | 740 | 0-1 | 150 | 150 | 70~100 | |
| SK-42 | 42 | 37.2 | -710 | -0.093 | 75 | - | 740 | - | 150 | 150 | 95~130 | |
| SK-60 | 60 | 54 | -710 | -0.093 | 95 | - | 590 | - | 250 | 250 | 140~180 | |
| SK-85 | 85 | 76.5 | -710 | -0.093 | 132 | - | 590 | - | 250 | 250 | 180~220 | |
| SK-120 | 120 | 110 | -710 | -0.093 | 185 | - | 590 | - | 300 | 300 | 220~260 | |
注:SK水环式真空泵表中列数据在下列条件下得出:
1、 大气压力0.1013Mpa(760mmHg)
2、 进水温度15℃
3、 吸入空气温度20℃
4、 空气相对湿度70%
5、 性能允许偏差±10%
型号意义
外型及连接图
![]() |
![]() |
| 代号 | A | C | D | F | G | H | J | K | N | P |
| SK-6 | 1432 | 370 | 457 | 190 | 800 | 1165 | 420 | 380 | 210 | 330 |
| SK-12 | 1761 | 448 | 538 | 270 | 940 | 1420 | 530 | 480 | 280 | 440 |
| SK-20 | 2100 | 491 | 609 | 310 | 1132 | 1710 | 650 | 600 | 350 | 680 |
| SK-30 | 2500 | 556 | 674 | 350 | 1270 | 1910 | 650 | 600 | 350 | 680 |
| SK-42 | 2720 | 630 | 750 | 400 | 1445 | 2120 | 650 | 600 | 350 | 680 |
| 型号 | R | S | X | Z | d1 | d2 | d3 | d4 | d5 | n |
| SK-6 | 610 | 315 | 183 | G1/2" | 80 | 130 | 14 | 160 | 18 | 4 |
| SK-12 | 780 | 395 | 203 | G1/2" | 80 | 150 | 14 | 180 | 18 | 4 |
| SK-20 | 1050 | 525 | 260 | G3/4" | 150 | 200 | 18 | 235 | 27 | 6 |
| SK-30 | 1050 | 525 | 260 | G3/4" | 150 | 200 | 18 | 235 | 27 | 6 |
| SK-42 | 1050 | 525 | 260 | G3/4" | 150 | 200 | 18 | 235 | 27 | 6 |
汽水分离器尺寸

| 型号 | A | B | C | D | E | F | G | H | I | J | K | Z1 | Z2 | n | d1 | d, 2 | d3 | d4 |
| SK-6 | 740 | 320 | 250 | 500 | 60 | 80 | 220 | 870 | 1030 | 140 | 500 | 11/2" | G1/2" | 4 | 160 | 130 | 65 | 14 |
| SK-12 | 910 | 400 | 250 | 650 | 60 | 80 | 260 | 1080 | 1230 | 140 | 500 | 11/2" | G1/2" | 4 | 185 | 150 | 80 | 18 |
| SK-20/30 | 1070 | 610 | 250 | 650 | 60 | 80 | 260 | 1130 | 1408 | 140 | 500 | 11/2" | G3/4" | 8 | 235 | 200 | 125 | 18 |
SK系列水环式真空泵及压缩机是用来抽吸或压缩空气和其它无腐蚀性,不溶于水,不含有固体颗粒的气体,以便在密闭容器中形成真空和压力,吸入气体允许混有少量液体。SK水环式真空泵及压缩机被广泛应用于机械、石油化工、制药、食品、制糖工业及电子领域。由于在工作过程中,气体的压缩过程是等温的,所以在压缩和抽吸易爆气体时,不易发生危险,所以其应用更加广泛。
技术参数
| 型号 |
抽气量 (m3/min) |
极限压力 (mmHg) |
电机功率 (kW) |
泵转速 (r.p.m) |
吸排气口径 (mm) |
泵重 (整机)(Kg) |
推荐替代产品 |
|
| 大气量 | 吸入压力-0.041MPa | |||||||
| SK-0.15 | 0.15 | 0.12 | -670 | 0.75 | 2850 | G1" | 30 | 2BV2060 |
| SK-0.4 | 0.4 | 0.36 | -670 | 1.5 | 2850 | G1" | 50 | 2BV2060 |
| SK-0.8 | 0.8 | 0.75 | -670 | 2.2 | 2850 | G1" | 80 | 2BV2061 |
| SK-1.5 | 1.5 | 1.35 | -700 | 4 | 1440 | 70 | 200 | 2BV5110 |
| SK-3 | 3 | 2.8 | -700 | 5.5 | 1440 | 70 | 320 | 2BV5111 |
| SK-6 | 6 | 5.4 | -700 | 11 | 1440 | 80 | 460 | 2BV5131 |
| SK-12 | 12 | 10.8 | -700 | 18.5 | 970 | 80 | 750 | 2BE1 202-970 |
| SK-20 | 20 | 18 | -700 | 37 | 730 | 150 | 1700 | 2BE1 203-970 |
| SK-30 | 30 | 27 | -700 | 55 | 730 | 150 | 2300 | 2BE1 252-740 |
| SK-42 | 42 | 37.8 | -700 | 75 | 730 | 150 | 2500 | 2BE1 253-740 |
| SK-60 | 60 | 54 | -700 | 95 | 550 | 250 | 3500 | 2BE1 303-740 |
| SK-85 | 85 | 76.5 | -700 | 132 | 550 | 250 | 3800 | 2BE1 353-592 |
| SK-120 | 120 | 108 | -700 | 185 | 490 | 300 | 5520 | 2BE3 420-390 |
注:
1、真空度从40%到90%或压力从0.05MPa到0.15MPa的吸排气量随着供水量的大小 ,叶轮与侧盖的间隙大小而变化,叶轮与侧盖的间隙大小而变化,特别是流量较小时,如果调整不准确更容易引起偏小
2、表内数值是在下列条件下得出:①水温15℃; ②空气20℃; ③气体相对温度70%;④大气压力0.1013MPa
3、表内性能偏差不超过5%
订货须知














