产品概述
G型单螺杆泵在发达国家已广泛使用,由于其优良的性能,近年来在国内的应用范围也在迅速扩大。它的大特点是对介质的适应性强、流量平稳、压力脉动小、自吸能力高,这是其它任何泵种所不能替代的。生产的单螺杆泵及国内同行业的产品,作了分析与研究,博取众长,对自已的产进行不断的改革创新。目前我单位的产品已自成一体系,压力为0.4∽1.2MPa,可满足广大用户对单螺杆泵的不同需求。我单位生产的泵,质量可靠,实行三包,价格也相对较低,同时确保备件的正常供应。本单位热忱为广大用户服务,接受用户对特殊要求单螺杆泵的设计和制造任务。
型号意义

使用范围
由于该二部件的特殊几何形状,分别形成单独的密封容腔,介质由轴向均匀推行流动,内部流速低,容积保持不变,压力稳定,因而不会产生涡流和搅动。每级泵的输出压力为0.6MPa,扬程60m(清水),自吸高度一般在6m以上。因定子选用多种弹性材料制成,所以这种泵对高粘度流体的输送和含有硬质悬浮颗粒介质或含有纤维介质的输送,有一般泵种所不能胜任的特性。其流量与转速成正比。本泵结构紧凑,体积小,维修简便。对介质的适应性强,流量平稳,压力脉动小,自吸能力高。工作温度可达120℃,如果需输送120℃-350℃高温介质,可定做。广泛用于食品、冶金、造纸、印染、化工、化肥、制药等工业部门。
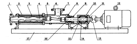
1 出料腔 2 拉杆 3 螺杆胶套 4 螺杆轴 5 万向节总成 6 吸入口体 7 连节轴 8 填料器 9 填料压盖 10 轴承座 11 轴承盖 12 电机 13 连轴器 14 轴套 15 轴承 16 传动主轴 17 底座

性能参数
|
型 号 |
转速
r/min |
流量
m3/h |
压力
Mpa |
电机
kw |
扬程
m |
进口
mm |
出口
mm |
|
G20-1 |
960 |
0.8 |
0.6 |
0.75 |
60 |
Dy25 |
Dy25 |
|
G25-1 |
960 |
2 |
0.6 |
1.5 |
60 |
Dy32 |
Dy25 |
|
G25-2 |
960 |
2 |
1.2 |
2.2 |
120 |
Dy32 |
Dy25 |
|
G30-1 |
960 |
5 |
0.6 |
2.2 |
60 |
Dy50 |
Dy40 |
|
G30-2 |
960 |
5 |
1.2 |
3 |
120 |
Dy50 |
Dy40 |
|
G35-1 |
960 |
8 |
0.6 |
3 |
60 |
Dy65 |
Dy50 |
|
G35-2 |
960 |
8 |
1.2 |
4 |
120 |
Dy65 |
Dy50 |
|
G40-1 |
960 |
12 |
0.6 |
4 |
60 |
Dy80 |
Dy65 |
|
G40-2 |
960 |
12 |
1.2 |
5.5 |
120 |
Dy80 |
Dy65 |
|
G50-1 |
960 |
20 |
0.6 |
5.5 |
60 |
Dy100 |
Dy80 |
|
G50-2 |
960 |
20 |
1.2 |
7.5 |
120 |
Dy100 |
Dy80 |
|
G60-1 |
960 |
30 |
0.6 |
11 |
60 |
Dy125 |
Dy100 |
|
G60-2 |
960 |
30 |
1.2 |
15 |
120 |
Dy125 |
Dy100 |
|
G70-1 |
720 |
45 |
0.6 |
11 |
60 |
Dy150 |
Dy125 |
|
G70-2 |
720 |
45 |
1.2 |
18.5 |
120 |
Dy150 |
Dy125 |
|
G85-1 |
720 |
65 |
0.6 |
15 |
60 |
Dy150 |
Dy150 |
|
G105-1 |
500 |
100 |
0.6 |
22 |
60 |
Dy200 |
Dy200 |
|
G135-1 |
400 |
150 |
0.6 |
37 |
60 |
Dy200 |
Dy250 |