
FP型增强聚丙烯离心泵

FP型增强聚丙烯离心泵系列产品均采用机械密封,全使用CFR-PP(增强聚丙烯)作为泵的材质,在同系列的塑料泵产品中,充分显示了其结构先进、重量轻、体积小、寿命长等特点,广泛应用于化工,食品、制药、电镀、造纸、环保、水处理等部门,输送酸、碱、盐等腐蚀性液体。其中104型采用220V电压,可供家庭选用。
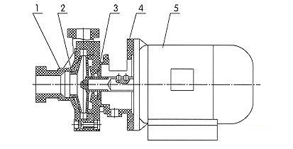
结构图

1、泵壳 2、叶轮-轴总成 3、机械密封 4、泵盖 5、电机
型号说明

故障原因及排除方法
|
故障形式 |
产生原因 |
排除方法 |
|
泵不出液 |
|
|
|
流量不足 |
|
|
|
扬程过低 |
|
|
|
噪音过低 |
|
|
|
漏液 |
|
|
性能参数
|
型号 |
口径 |
流量 m3/h |
扬程 m |
吸程 |
转速 r/min |
电压 v |
电机 功率 kw |
|
|
进口 |
出口 |
|||||||
|
FP20-15-60 (106) |
20 |
15 |
1 |
5 |
3 |
2900 |
380 |
0.12 |
|
FP20-20-90 (105) |
20 |
20 |
3 |
6 |
3 |
380 |
0.37 |
|
|
FP32-25-100 (104) |
32 |
25 |
5 |
7 |
6 |
220 |
0.55 |
|
|
FP32-25-105 (103) |
32 |
25 |
6.3 |
8 |
6 |
380 |
0.75 |
|
|
FP32-25-110 |
32 |
25 |
8 |
14 |
6 |
380 |
1.1 |
|
|
FP40-32-125 (102) |
40 |
32 |
12.5 |
20 |
6 |
380 |
1.5 |
|
|
FP50-40-145 |
50 |
40 |
13 |
22 |
6 |
380 |
2.2 |
|
|
FP65-50-150 (101) |
65 |
50 |
25 |
25 |
6 |
380 |
4 |
|
|
50FP-22 |
50 |
40 |
13 |
22 |
6 |
380 |
2.2 |
|
|
65FP-25 |
65 |
50 |
20 |
25 |
6 |
380 |
4 |
|
|
80FP-28 |
80 |
65 |
50 |
28 |
4 |
380 |
5.5 |
|
|
80FP-32 |
80 |
65 |
50 |
32 |
4 |
380 |
7.5 |
|
性能曲线

安装尺寸

|
尺寸 |
A |
B |
C |
D |
E |
F |
G |
|
FP20-15-60 |
310 |
190 |
20 |
15 |
90 |
70 |
100 |
|
FP20-20-90 |
355 |
200 |
20 |
20 |
110 |
100 |
105 |
|
FP32-25-100 |
370 |
198 |
32 |
25 |
125 |
100 |
110 |
|
FP32-25-105 |
370 |
198 |
32 |
25 |
125 |
100 |
110 |
|
FP32-25-110 |
450 |
235 |
32 |
25 |
125 |
100 |
110 |
|
FP40-32-125 |
470 |
235 |
40 |
32 |
140 |
100 |
125 |
|
FP50-40-145 |
550 |
290 |
50 |
40 |
140 |
100 |
125 |
|
FP65-50-150 |
610 |
340 |
65 |
50 |
190 |
100 |
145 |
1、塑料泵应水平安装,泵体不得承受管路重量,对于特殊要求垂直安装的场合,电机务必朝上。
2、泵在使用前泵体内先加水。当抽吸液面高于轴心线时,启动前打开吸入管道阀门即可,若抽吸液面低于泵轴心线时,管道需配底阀。
3、电机启动前,应检查其旋转方向是否与泵转向标记一致。
4、被输送介质及温度应在泵材质允许的范围之内(见附表)。离心泵使用温度FP≤80℃、FS≤60℃电机温升不得超过80℃,环境温度<40℃。
5、禁止空载运行。
附表:塑料泵材质的耐腐蚀性能
|
介质 |
浓度 |
CFR-PP |
介质 |
浓度 |
ABS |
||||
|
25℃ |
65℃ |
90℃ |
20℃ |
60℃ |
80℃ |
||||
|
硫酸H2SO4 |
98% |
√ |
√ |
○ |
硫酸H2SO4 |
<30% |
√ |
× |
|
|
70% |
√ |
√ |
√ |
30-70% |
○ |
× |
|
||
|
1-50% |
√ |
√ |
√ |
>75% |
× |
× |
|
||
|
硝酸HNO3 |
浓 |
√ |
√ |
○ |
硝酸HNO3 |
10% |
√ |
○ |
|
|
20% |
√ |
√ |
√ |
20% |
√ |
|
|
||
|
10% |
√ |
√ |
√ |
25-35% |
○ |
|
|
||
|
|
|
√ |
|
>50% |
× |
× |
|
||
|
盐酸HCL |
0-30% |
√ |
○ |
× |
盐酸HCL |
<30% |
√ |
× |
|
|
****** |
|
√ |
○ |
× |
****** |
<10% |
√ |
× |
|
|
40-48% |
√ |
× |
|
||||||
|
醋酸 |
1-50% |
√ |
√ |
√ |
醋酸 |
<20% |
√ |
○ |
|
|
磷酸 |
各种浓度 |
√ |
√ |
√ |
>30% |
× |
× |
|
|
|
氢氧化钠 |
|
√ |
√ |
√ |
氢氧化钠 |
|
√ |
√ |
√ |
|
氯化钠 |
|
√ |
√ |
√ |
氯化钠 |
|
√ |
√ |
× |
|
氯化铁 |
|
√ |
√ |
|
|||||
|
乙醇 |
|
√ |
√ |
√ |
乙醇 |
|
√ |
√ |
|
|
漂白液 |
|
√ |
√ |
√ |
漂白液 |
|
○ |
○ |
× |
说明:√——良好; ○——可用、但有腐蚀; ×——不可用、腐蚀严重
订货须知











