概述
I-1B系列浓浆泵是单螺杆式容积回转泵,该泵利用偏心单螺旋的螺杆在双螺旋衬套内的转动,使浓浆液沿螺旋槽由吸入口推移至排出口,实现泵的输送功能。
结构材质型式
I-1B型:壳体铸铁,传动件为一般钢材,适用于一般中性浓浆液输送。
I-1B型:传动件(主轴、螺杆和绕轴)为不锈钢制造,适用于一般微酸、碱浆液输送。
I-1B型:传动件和接角浆液的泵壳均由不锈钢制造,适用于食品、制药及腐蚀性浆液的输送。
橡胶衬套有一般耐磨橡胶,食品用橡胶和耐油橡胶供用户选择。
传动方式有电机与泵轴直接传动,电机经减速机与泵直接传动和电机经三角皮带轮与泵轴传动供用户选购。
配用电动机有一般封闭式、防爆式和电磁调速式电机.
使用范围
1.可输送高浓度高粘度(<10000PaS)及含有颗粒的悬浮浆液。
2.输送液流稳定,无过流、脉动及搅拌、剪切浆液现象。
3.排出压力与转速无关,低流量也可保持高的排出压力。
4.流量与转速成正比,通过变速机构或高速电机可实现流量调节。
5.自吸能力强,液体流向由泵的旋转方向来改变,适用于管道需反、正向冲洗的场合。
6.运转平稳、振动、噪声小。
7.结构简单、拆装、维修方便。
螺杆泵(浓浆泵)是一种新型的输送液体的机械,具有结构简单、工作安全可靠、使用维修方便、出液连续均匀、压力稳定等优点。我单位生产的浓浆泵凡接触物料的金属零件均选用优质耐酸不锈钢制作,衬筒采用无毒无味的橡胶、工作温度可达120℃,可用于输送食品浆料和粘度10000泊斯卡·秒含有固体颗粒或胶块的溶液浆,悬浮液的腐蚀性介质。广泛用于食品、冶金、化工、印染、造纸、陶瓷等工业部门。
技术参数
流量:1.5-38m3/h;
扬程:30-80m;
功率:1.1-15kw;
转速:960r/min;
温度:0-100℃;
口径:25-150mm。
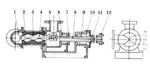
结构说明

|
1 |
弯头接管 |
5 |
三通泵体 |
9 |
空心泵轴 |
|
2 |
直筒 |
6 |
石棉填料 |
10 |
泵座 |
|
3 |
橡胶管 |
7 |
填料压盖 |
11 |
销轴销帽 |
|
4 |
螺杆泵 |
8 |
绕轴 |
12 |
联轴器 |
性能参数
|
规格
|
理论流量
PMPa (m3/h)
|
流量
(m3/min)
|
扬程
(m)
|
吸程
(m)
|
进出口径
|
转速
(r/min)
|
配用电机
(Kw)
|
工作压力
(*Kg/cm2)
|
|
型号
|
|
I-1B1寸
|
2.39
|
1.5
|
50
|
2
|
25
|
960
|
1.1
|
5
|
|
I-1B1.5寸
|
5.2
|
3.2
|
80
|
3
|
40
|
960
|
2.2
|
8
|
|
I-1B2寸
|
8.85
|
5.6
|
80
|
3
|
50
|
960
|
3
|
8
|
|
I-1B2.5寸
|
10.6
|
6.5
|
60
|
3
|
65
|
960
|
3
|
6
|
|
I-1B3寸
|
18.1
|
12
|
60
|
3
|
75
|
960
|
5.5
|
6
|
|
I-1B4寸
|
24
|
16
|
60
|
3
|
100
|
960
|
7.5
|
6
|
|
I-1B5寸
|
36
|
25
|
60
|
3
|
125
|
960
|
11
|
6
|
|
I-1B6寸
|
38
|
30
|
60
|
3
|
150
|
960
|
15
|
6
|
应用范围举例
本系列泵浓浆接触物的零件均选用优质不锈钢.螺杆衬套用中硬度橡胶制作,因而本泵适用于食品加工行业和制药、化工等行业使用。例如
1 制糖厂的糖蜜、糖汁、庶渣、甜菜渣的输送;
2,罐头厂的、食品厂的奶粉、淀粉、蜂蜜、咖啡、牛奶、奶油、食用油、各种维生素液、麦芽糖、蕃茄酱果酱、蛋黄酱 、冰淇淋等的装料和输送;
3,酿造酒厂的酒类饮料、香料、发酵液的投料配料.压滤机装料粮食废渣的输送;
4,鱼类加工厂的鱼肝油、鱼油、鱼松、鱼渣的输送;
5,果品加工厂糖汁、果汁的输送、柑桔、水果的捣烂.墳料机的加料等:
6,粮油加工厂的食油、大米及玉米淀粉等的装填料及辅送;
7,肉类加工厂、屠宰物;油脂、肉油揮取、装箱、废液的输送;
8,制药厂:各种维生素液、药液、乳剂的加料运输.悬浮液、盐水、盐污泥、药渣等输送;
9,化学工业:酸、碱液的输送,各种悬浮液、油脂、胶液、各种化学染料、油漆、各种粘合剂、软膏、浆料的投料、配料和输送,尤其是一般离心式泵无法输送的各种高粘度物料、或带固体颗粒和物料本泵都能输送;
10.印刷油墨的配料输送;
11.造纸厂的纸浆、墨液的输送;
12.石油化工厂的油类产品,油脂、废液污泥的输送;
13.乙炔站电石污泥的输送;
14.建筑行业镝送灰浆、石灰乳、砂浆、水泥浆等;
15.可用着并泵抽水、饲料加工过程中的输送及装投类;
16.广泛用于工业和生活的污水、污泥处理,污水中通常含有许多悬浮物有一定腐蚀性和粘度,往往含有固体颗粒,固而使用浓浆泵输送是台适的;
17.用于原子能发射站的污染水、污染液和其它物料的输送;
18.矿井排污水、污泥。此外在钢铁工业、造船工业、陶瓷工业、制革工业水厂都能使用。
故障与排除
|
故 障
|
原 因
|
排除方法
|
|
1.启动困难
|
1.料液未充满泵腔.摩擦阻力较大:
2.填料压盖压得过紧.轴与填料之间有摩擦力矩过大。
|
1.用管子钳搬动眹轴器泵主轴3〜6转:
2.调整填料压盖。
|
|
2.启动后
不出料液
|
1.有大量空气吸入:
2.电动机转向不对: 3.料液粘度过大。
|
1.检査吸入口液位是否太低.吸入管是否漏气
2.调接电动机的任意两相进线:
3.稀转料液。
|
|
3.泵有较大的振动或噪音
|
1.电动机与泵轴不同心:
2.泵内吸入空气或料液混有大量空气-
|
1.重新调整同轴度:
2 .检査料液位.设法排除吸入液中的空气。
|
|
4.运行过程中.流量显著下降
|
1.衬套磨损.间隙增大:
2.转速降低:
3.万向眹轴节或铙轴损坏传动失效:
4.吸入管路漫入液体深度不够.有空气逬入泵内^
|
1.更换衬套.必要时換螺杆:
2.査电源和电机:
3.停机检修.更換轴朕轴节或绕轴:
4.滅小吸入高度.!曾加浸入深度.排除吸入料液中的空气.
|
|
5.电动机超载
|
1.扬程超过泵的饧程过多:
2.料液粘度太大:
3.电压太低.
|
1.尽量减小管路水头损失.或更换高扬程泵。
2.稀释料液:
3.检査原因.提高电压至规定值 。
|
|
6.轴封填料处大量漏液
|
1.压盖过松:
2.填料磨损:
3.进出口位置反。
|
1.调整压盖:
2.更换填料:
3.以中间法兰口为吸入口。
|
安装说明
根据泵的总图和说明书所提供的安装尺寸浇注基础和确定地脚螺栓的位置,一般情况下不宜改变进口方向。基础面应使用水平仪校平,待基础的水泥凝固后將泵装在基础上。电机轴和泵轴的同轴度。两轴线偏移不超过±0.2毫米。倘若其轴线不重合,就会产生振动使轴承发热,甚至损坏泵。
泵的吸入和排出管道应有自己和支架,一般不允许泵体承受管路的重量,在泵处于倒罐工作时可以不装底阀,但应在吸入管路上装控制阀和过滤装置,以防杂物吸入泵内。泵安装在高于液面位置时,应在吸入管端装底阀,底阀喉口面积应大于吸入管截面枳的百分之五十。
泵安装前一定要彻底清除管路内的杂物,如:焊渣、金属屑等,以免泵起动吋被吸入造成事故。
起动
1.准各必要的扳手和工具。
2.检査机座.轴承和油腔无润滑油、
3.检査空心轴和轴密封程度是否适当.填料压盖不可将盘根压得过紧.允许呈滴状渗出
4.用手或管子钳转动眹轴器.注意泵体内有无异物碰權杂声和卡死现象.如有应清除后方可开车
5.将料液注满泵腔.切勿于摩擦运转.以免损坏村套
6.全幵出液管的闸阀
7.开电动机。
停机
1.关闭吸入管阀门。
2.关闭排出管阀门。
3.停止电机.当泵处于长期停止工作0才.应将泵腔内料液放并用水或蒸汽冲洗。
运转
1.经常检査泵和电机轴承温升情况.高溫度不应超过75℃。
2.及时补充润滑油.保证轴承润滑良好。
3.运转过程中.如发现异常噪声或过大振动应立即停机检查.排除故障。
4.当流量显著减少.说明橡胶村套已磨损.应更換新村套后再运转。