产品特点
101型、102型、103型、104型、105型泵系单吸直联式塑料离心泵是一种小型塑料泵,产品结构较先进、体积小、重量轻、耗电省、耐酸碱、密封好、维修方便。广泛用于输送酸、碱、盐等腐蚀性液体上,化工、轻工、三废治理等理想产。FP型增强聚丙烯离心泵、FS型工程塑料离心泵系列产品均采用机械密封,并引进国际先进工艺和技术配方,使用CFR-PP(增强聚丙烯)、改性ABS(工程塑料)作为泵的材质,在同系列的塑料泵产品中,充分显示了其结构先进、重量轻、体积小、寿命长等特点。
使用范围
广泛应用于化工、食品、制药、造纸、环保、水处理等部门,输送酸、碱、盐等腐蚀性液体。 其中104型采用220V电压,可供家庭选用.
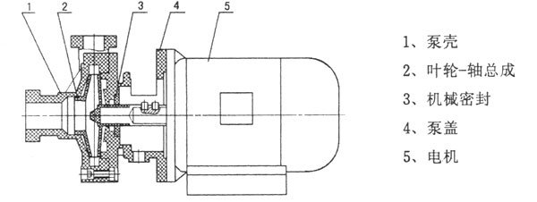
结构说明

FS型工程塑料离心泵性能参数
|
型号
|
口径(mm)
|
流量
(m3/h)
|
扬程
(m)
|
吸程
(m)
|
转速
(r/min)
|
电压
(v)
|
电机功率
(kw)
|
|
进口
|
出口
|
|
FS32-25-100(104)
|
32
|
25
|
5
|
7
|
6
|
2900
|
220
|
0.55
|
|
FS32-25-105(103)
|
32
|
25
|
6.3
|
8
|
6
|
380
|
0.75
|
|
FS40-32-125(102)
|
40
|
32
|
12.5
|
20
|
6
|
380
|
1.5
|
|
FS65-50-150(101)
|
65
|
50
|
25
|
25
|
6
|
380
|
4
|
塑料泵材质的耐腐蚀性能
|
介质 |
浓度 |
RPP增强聚丙稀塑料 |
介质 |
浓度 |
RPP 增强聚丙稀塑料 |
|
25oC |
65oC |
90oC |
20oC |
60oC |
80oC |
|
硫酸H2SO4 |
98% |
√ |
√ |
О |
硫酸H2SO4 |
<30% |
√ |
x |
|
|
70% |
√ |
√ |
|
30-70% |
О |
x |
|
|
1-50% |
√ |
√ |
√ |
>70% |
x |
x |
|
|
硝酸HNO3 |
浓 |
√ |
√ |
О |
硝酸HNO3 |
10% |
√ |
О |
|
|
20% |
√ |
√ |
√ |
20% |
√ |
|
|
|
10% |
√ |
√ |
√ |
25-35% |
О |
|
|
|
|
|
|
|
>50% |
√ |
x |
|
|
盐酸Hcl |
0-30% |
√ |
О |
x |
盐酸Hcl |
>30% |
√ |
x |
|
|
氢氟酸 |
|
√ |
x |
x |
氢氟酸 |
>10% |
√ |
x |
|
|
40-48% |
√ |
x |
|
|
醋 酸 |
各种浓度 |
√ |
√ |
√ |
醋 酸
磷 酸
|
>20% |
√ |
О |
|
|
磷 酸 |
|
√ |
√ |
√ |
>30% |
x |
x |
|
|
氢氧化钠 |
|
√ |
√ |
√ |
氢氧化钠 |
|
√ |
√ |
√ |
|
氯化钠 |
|
√ |
√ |
√ |
氯化钠 |
|
√ |
√ |
x |
|
氯化钠 |
|
√ |
√ |
|
|
乙 醇 |
|
√ |
√ |
√ |
乙 醇 |
|
√ |
√ |
|
|
漂白液 |
|
√ |
√ |
√ |
漂白液 |
|
О |
О |
О |
订货须知
一、①产品名称与型号②口径③扬程(m)④电机功率(KW)⑥转速(r/min)⑦电压〔V〕⑧吸程(m)⑨是否带附件。以便我们的为您正确选型。
二、若已经由设计单位选定我公司的产品型号,请按产品名称与型号直接向我公司销售部订购。
三、当使用的场合非常重要或环境比较复杂时,请您尽量提供设计图纸和详细参数,由我们的技术专家为您审核把关。