QBY型气动隔膜浓浆泵

产品概述
QBY型气动隔膜式泥浆泵是一种新型输送机械,是目前国内新颖的一种泵类。采用压缩空气为动力源,对于各种腐蚀性液体,带颗粒的液体,高粘度、易挥发、易燃、剧毒的液体,均能予以抽光吸尽。QBY型气动隔膜泥浆泵性能参数与联邦德国的WLLDENPVMPS、美国的MARIOWPUMPS相近。
产品特点
四种材质:铝合金、铸铁、不锈钢、工程塑料。隔膜泵根据不同液体介质分别采用丁晴橡胶、氯丁橡胶、氟橡胶、聚四氟乙烯隔膜。以满足不同用户的需要。QBY型气动隔膜泥浆泵自投产以来,已被国内一千多家石油、化工、电子、陶瓷、纺织系统单位采用,安置在各种特殊场合,用来抽送种常规泵不能抽吸的介质,均取得了满意的效果。
使用范围
1.QBY型气动隔膜式泥浆泵吸花生酱、泡菜、土豆泥、小红肠、果酱、苹果酱、巧克力等。
2.泵吸油漆、树胶、颜料。
3.粘合剂和胶水、全部种类可用泵吸取。
4.各种瓦、瓷、砖器及陶器釉浆。
5.油井钻好后,用泵吸沉积物及灌浆。
6.泵吸各种乳剂和填料。
7.泵吸各种污水。
8.用泵为油轮,驳船清仓吸取仓内污水。
9.啤酒花及发酵粉稀浆、糖浆、糖蜜。
10.泵吸矿井、坑道、隧道、选矿、矿渣中的积水。泵吸水泥灌浆及灰浆。
11.各种橡胶浆。
12.各种磨料、腐蚀剂、石油及泥浆、清洗油垢及一般容器。
13.各种剧毒、易燃、易挥发液体。
14.各种强酸、强碱、强腐蚀液体。
15.各种高温液体高可耐150℃。
16.作为各种固液体分离设备的前级送压装置
主要用途
1、泵吸花生酱、泡菜、土豆泥、小红肠、果酱苹果浆、巧克力等。
2、泵吸油漆、树胶、颜料。
3、粘合剂和胶水、全部种类可用泵吸取。
4、各种瓦、瓷、砖器及陶器釉浆。
5、油井钻好后,用泵吸沉积物及灌浆。
6、泵吸各种乳剂和填料。
7、泵吸各种污水。
8、用泵为油轮,驳船清仓吸取仓内污水。
9、啤酒花及发酵粉稀浆、糖浆、糖密。
10、泵吸矿井、坑道、隧道、选矿、矿渣中的积水。泵吸水泥灌浆及灰浆。
11、各种橡胶浆。
12、各种磨料、腐蚀剂、石油及泥浆、清洗油垢及一般容器。
13、各种剧毒、易燃、易挥发液体。
14、各种强酸、强碱、强腐蚀液体。
15、各种高温液体高可耐150℃。
16、作为各种固液分离设备的前级送压装置。
型号意义
QBY型气动隔膜式泥浆泵
例如:QBY-40
QBY-气动隔膜泵
40-进出口直径(mm)
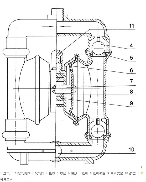
结构图

性能参数
|
型 号 |
流量 |
扬程 |
出口压力 |
吸程 |
大允许 |
大供气压 |
大空气 |
|
QBY-10 |
0~0.8 |
0~50 |
6 |
5 |
1 |
7 |
0.3 |
|
QBY-15 |
0~1 |
0~50 |
6 |
5 |
1 |
7 |
0.3 |
|
QBY-25 |
0~2.4 |
0~50 |
6 |
7 |
2.5 |
7 |
0.6 |
|
QBY-40 |
0~8 |
0~50 |
6 |
7 |
4.5 |
7 |
0.6 |
|
QBY-50 |
0~12 |
0~50 |
6 |
7 |
8 |
7 |
0.9 |
|
QBY-65 |
0~16 |
0~50 |
6 |
7 |
8 |
7 |
0.9 |
|
QBY-80 |
0~24 |
0~50 |
6 |
7 |
10 |
7 |
1.5 |
|
QBY-100 |
0~30 |
0~50 |
6 |
7 |
10 |
7 |
1.5 |
故障排除
|
故障现象 |
可能存在的原因 |
处理方案 |
|
流体中突然有气泡 |
物料进口端连接处漏入空气 |
紧固修复 |
|
气动隔膜泵的隔膜膜破裂 |
更换 |
|
|
连杆(中心轴)螺栓松动 |
紧固或更换 |
|
|
气阀内护块“O”型圈损坏 |
更换 |
|
|
排气口有物料排出 |
气动隔膜泵的膜片破裂 |
更换 |
|
连杆(中心轴)螺栓松动 |
紧固或更换 |
|
|
泵在停顿时排出大量空气 |
检查空气阀,“O”型环,阀板,定位块,U型密封件,或定位销“O”型环 |
检修或更换 |
|
中心轴密封件磨损 |
更换 |
|
|
泵循环停止或停止无法保持压力 |
检查球体、球座或“O”型圈是否磨损 |
更换。 |
|
泵不工作,或循环一次即停止 |
检查空气阀阻塞或肮脏 |
拆卸和清洁空气阀,使用过滤空气 |
|
球体、球座磨损 |
更换阀球和阀座 |
|
|
隔膜泵工作无规律 |
气动隔膜泵进口端管路阻塞 |
检查;清理 |
|
球体粘附或泄漏。 |
清理或更换 |
|
|
膜片破裂。 |
更换 |
|
|
排出受限。 |
去除限制原因 |
结构示意图

订货须知